应用案例
您当前的位置:产品应用
立体袋成型机模具升降装置
【申请号 201610185085.4;申请人:温州欧伟机械股份有限公司;发明人:欧阳锡聪、陈祖仁】
立体袋成型机模具升降装置
摘要:
一种立体袋成型机模具升降装置。解决了现有的升降装置在实际工作过程中响应慢,电机驱动时存在噪音大、模具移位的问题。它包括机座和模具组件,所述机座的上方设有驱动件,所述的驱动件通过传动机构与模具组件相连接,所述的模具组件设于机座下方并于机座上下滑移配合,所述的传动机构包括传动轴和与驱动件相连接的第一同步轮,所述的第一同步轮套设于传动轴上并与传动轴联动连接,所述传动轴的两端对称的设有第二同步轮,所述的第二同步轮通过同步带与模具组件相连接。本发明还具有结构简单,装配方便,噪音小,响应快,动作可靠,使用寿命长等优点。
要求:
1 一种立体袋成型机模具升降装置,其特征在于:包括机座( 1 )和模具组件( 2 ) ,所述机座( 1 )的上方设有驱动件( 3 ) ,所述的驱动件( 3 )通过传动机构( 4 )与模具组件( 2 )相连接,所述的模具组件( 2 )设于机座( 1 )下方并于机座( 1 )上下滑移配合,所述的传动机构( 4 )包括传动轴( 41 )和与驱动件( 3 )相连接的第一同步轮( 42 ) ,所述的第一同步轮( 42 )套设于传动轴 ( 41 )上并与传动轴( 41 )联动连接,所述传动轴( 41 )的两端对称的设有第二同步轮( 43 ) ,所述的第二同步轮( 43 )通过同步带( 44 )与模具组件( 2 )相连接。
2 .根据权利要求 1 所述的立体袋成型机模具升降装置,其特征在于所述的模具组件( 2 ) 包括安装架( 21 )、模具撑杆( 22 )和模具( 23 ) ,所述的同步带( 44 )通过皮带压板( 24 )与模具撑杆( 22 )固定连接,所述的模具撑杆( 22 )上设有连接座( 25 ) ,所述的模具( 23 )通过安装架 ( 21 )与连接座( 25 )相固定。
3 .根据权利要求 2 所述的立体袋成型机模具升降装置,其特征在于所述的机座( 1 )向下延伸出支架( 11 ) ,所述的支架( 11 )上设有导轨( 12 ) ,所述的安装架( 21 )上设有与导轨( 12 ) 相适配的导滑块( 211 )。
4 .根据权利要求 3 所述的立体袋成型机模具升降装置,其特征在于所述的支架( 11 )上设有第三同步轮( 45 ) ,所述的同步带( 44 )套设于第二同步轮( 43 )和第三同步轮( 45 )外。
5 .根据权利要求 3 所述的立体袋成型机模具升降装置,其特征在于所述的机座( 1 )上设有供同步带( 44 )穿过的缺口( 13 )。
6 .根据权利要求 3 所述的立体袋成型机模具升降装置,其特征在于所述的支架( 11 )有两只,每只支架( 11 )上均设有两块加强板( 14 ) ,所述的两块加强板( 14 )与同步带( 44 )间隔设置。
7 .根据权利要求 2 所述的立体袋成型机模具升降装置,其特征在于所述的模具( 23 )呈 T 字形,所述的安装架( 21 )上设有 L 形安装脚( 212 ) ,所述的 L 形安装脚( 212 )与安装架( 21 )底面配合形成用于安装 T 字形模具( 23 )的安装槽( 213 )。
8 .根据权利要求 2 所述的立体袋成型机模具升降装置,其特征在于所述的安装架( 21 ) 上设有两个气缸( 26 ) ,所述的两个气缸( 26 )关于连接座( 25 )对称分布,所述的气缸( 26 )穿过安装架( 21 )与模具( 23 )相抵。
9 .根据权利要求 1 所述的立体袋成型机模具升降装置,其特征在于所述的机座( 1 )上设有轴承座( 5 ) ,所述的轴承座( 5 )上设有支撑块( 51 )和用于安放轴承的轴承滑块( 52 ) ,所述的轴承滑块( 52 )套设于传动轴( 41 )外并与轴承座( 5 )沿传动轴( 41 )轴向限位配合。
10 .根据权利要求 9 所述的立体袋成型机模具升降装置,其特征在于所述的轴承滑块 ( 52 )上设有便于安放轴承的阶梯孔( 521 ) ,所述的轴承滑块( 52 )上凸出边沿( 522 )与轴承座 ( 5 )侧面限位配合。
技术领域
本发明涉及一种立体袋成型机,具体涉及一种立体袋成型机模具升降装置。
背景技术
无纺布袋具有环保实用的特点,近年来得到大力推广和使用,从而促使了无纺布制袋全自动成型技术的快速发展。但是随着近年来我国无纺布的发展,国内行业间出线了压价竞争恶性循环的现象。只有寻找技术密集型工艺,生产多品种、复合化、高质化、差别化等附加值高的产品才是各个企业的生存之路。因此立体感较强的立体袋成为了无纺布袋的主流,现有的无纺布立体袋是通过立体袋成型机一次加工成型的,在加工中需要通过模具升降装置将平面的无纺布压成长方体。但是现有的升降装置在实际工作过程中响应慢,电机驱动时模具下压慢且存在噪音大、模具移位等缺点。
发明内容
为解决背景技术中现有的升降装置在实际工作过程中响应慢,电机驱动时存在噪音大、模具移位的问题,本发明提供一种立体袋成型机模具升降装置。
本发明的技术方案是:一种立体袋成型机模具升降装置,包括机座和模具组件,所述机座的上方设有驱动件,所述的驱动件通过传动机构与模具组件相连接,所述的模具组件设于机座下方并于机座上下滑移配合,所述的传动机构包括传动轴和与驱动件相连接的第一同步轮,所述的第一同步轮套设于传动轴上并与传动轴联动连接,所述传动轴的两端对称的设有第二同步轮,所述的第二同步轮通过同步带与模具组件相连接。
作为本发明的一种改进,所述的模具组件包括安装架、模具撑杆和模具,所述的同步带通过皮带压板与模具撑杆固定连接,所述的模具撑杆上设有连接座,所述的模具通过安装架与连接座相固定。
作为本发明的进一步改进,所述的机座向下延伸出支架,所述的支架上设有导轨,所述的安装架上设有与导轨相适配的导滑块。
作为本发明的进一步改进,所述的支架上设有第三同步轮,所述的同步带套设于第二同步轮和第三同步轮外。
作为本发明的进一步改进,所述的机座上设有供同步带穿过的缺口。
作为本发明的进一步改进,所述的支架有两只,每只支架上均设有两块加强板,所述的两块加强板与同步带间隔设置。 〔
作为本发明的进一步改进,所述的模具呈 T 字形,所述的安装架上设有 L 形安装脚,所述的 L 形安装脚与安装架底面配合形成用于安装 T 字形模具的安装槽。
作为本发明的进一步改进,所述的安装架上设有两个气缸,所述的两个气缸关于连接座对称分布,所述的气缸穿过安装架与模具相抵。
作为本发明的进一步改进,所述的机座上设有轴承座,所述的轴承座上设有支撑块和用于安放轴承的轴承滑块,所述的轴承滑块套设于传动轴外并与轴承座沿传动轴轴向限位配合。
作为本发明的进一步改进,所述的轴承滑块上设有便于安放轴承的阶梯孔,所述的轴承滑块上凸出边沿与轴承座侧面限位配合。
本发明的有益效果是,通过对称设置的第二同步轮和同步带,带动模具组件可靠升降,升降时平稳使得加工出的立体袋不会移位,便于下一步加工,而且通过同步带传动噪音小,响应快。本发明还具有结构简单,装配方便,动作可靠,使用寿命长等优点。
图中, 1 、机座; 11 、支架; 12 、导轨; 13 、缺口; 14 、加强板; 2 、模具组件; 21 、安装架; 211 、导滑块; 212 、 L 形安装脚; 213 、安装槽; 22 、模具撑杆; 23 、模具; 24 、皮带压板; 25 、连接座; 26 、气缸; 3 、驱动件; 4 、传动机构; 41 、传动轴; 42 、第一同步轮; 43 、第二同步轮; 44 、同步带; 45 、第三同步轮; 5 、轴承座; 51 、支撑块; 52 、轴承滑块; 521 、阶梯孔; 522 、边沿。
具体实施方式
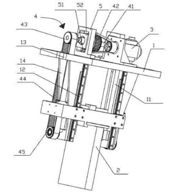
下面结合附图对本发明实施例作进一步说明:由图 1 结合图 2 、 3 、 4 所示,一种立体袋成型机模具升降装置,包括机座 1 和模具组件 2 ,所述机座 1 的上方设有驱动件 3 ,所述的驱动件为伺服电机,所述的驱动件 3 通过传动机构 4 与模具组件 2 相连接,所述的模具组件 2 设于机座 1 下方并于机座 1 上下滑移配合,所述的传动机构 4 包括传动轴 41 和与驱动件 3 相连接的第一同步轮 42 ,所述的第一同步轮 42 套设于传动轴 41 上并与传动轴 41 联动连接,所述传动轴 41 的两端对称的设有第二同步轮 43 ,所述的第二同步轮 43 通过同步带 44 与模具组件 2 相连接。本发明的有益效果是,通过对称设置的第二同步轮和同步带,带动模具组件可靠升降,升降时平稳使得加工出的立体袋不会移位,便于下一步加工,而且通过同步带传动噪音小,响应快。本发明还具有结构简单,装配方便,动作可靠,使用寿命长等优点。
所述的模具组件 2 包括安装架 21 、模具撑杆 22 和模具 23 ,所述的同步带 44 通过皮带压板 24 与模具撑杆 22 固定连接,所述的模具撑杆 22 上设有连接座 25 ,所述的模具 23 通过安装架 21 与连接座 25 相固定。具体的说,所述的模具通过螺栓固定在安装架和连接座上。所述的皮带压板上设有与同步带齿相适配的凹槽。所述的连接座套设于模具撑杆的中心。这样的结构使得同步带能可靠的通过模具撑杆从而带动模具可靠升降,连接可靠,动作平稳。
所述的机座 1 向下延伸出支架 11 ,所述的支架 11 上设有导轨 12 ,所述的安装架 21 上设有与导轨 12 相适配的导滑块 211 。当然在实际生产加工过程中也可以在安装架上设置导轨,在机座上设置滚轮或者导滑块。当然在实际生产过程中,也可以设置滑槽与滚轮的配合方式。所述的机座 1 上设有供同步带 44 穿过的缺口 13 。所述的支架 11 有两只,每只支架 11 上均设有两块加强板 14 ,所述的两块加强板 14 与同步带 44 间隔设置。本发明中,导轨可以设置在加强板上。两块加强板将环形同步带的竖直部间隔开,使得产品运行平稳。同时设置四根导轨使得本发明上升和下降中运行平稳可靠,同步性好。
所述的支架 11 上设有第三同步轮 45 ,所述的同步带 44 套设于第二同步轮 43 和第三同步轮 45 外。这样的结构使得产品传动可靠,运动平稳,同步性好。
所述的模具 23 呈 T 字形,所述的安装架 21 上设有 L 形安装脚 2 12 ,所述的 L 形安装脚 212 与安装架 21 底面配合形成用于安装 T 字形模具 23 的安装槽 213 。这样的结构便于模具的安装固定,固定可靠,便于产品的拆装维修。
所述的安装架 21 上设有两个气缸 26 ,所述的两个气缸 26 关于连接座 25 对称分布,所述的气缸 26 穿过安装架 21 与模具 23 相抵。两个对称设置的气缸将模具抵在安装架的 L 形安装脚上,避免工作过程中模具移位,使得模具动作平稳可靠,保证产品品质。
所述的机座 1 上设有轴承座 5 ,所述的轴承座 5 上设有支撑块 51 和用于安放轴承的轴承滑块 52 ,所述的轴承滑块 52 套设于传动轴 41 外并与轴承座 5 沿传动轴 41 轴向限位配合。所述的轴承滑块 52 上设有便于安放轴承的阶梯孔 521 ,所述的轴承滑块 52 上凸出边沿 522 与轴承座 5 侧面限位配合。这样的结构便于轴承的安装固定维修,保证传动轴可靠转动。
各位技术人员须知:虽然本发明已按照上述具体实施方式做了描述,但是本发明的发明思想并不仅限于此发明,任何运用本发明思想的改装,都将纳入本专利专利权保护范围内。
立体袋成型机模具升降装置
摘要:
一种立体袋成型机模具升降装置。解决了现有的升降装置在实际工作过程中响应慢,电机驱动时存在噪音大、模具移位的问题。它包括机座和模具组件,所述机座的上方设有驱动件,所述的驱动件通过传动机构与模具组件相连接,所述的模具组件设于机座下方并于机座上下滑移配合,所述的传动机构包括传动轴和与驱动件相连接的第一同步轮,所述的第一同步轮套设于传动轴上并与传动轴联动连接,所述传动轴的两端对称的设有第二同步轮,所述的第二同步轮通过同步带与模具组件相连接。本发明还具有结构简单,装配方便,噪音小,响应快,动作可靠,使用寿命长等优点。
要求:
1 一种立体袋成型机模具升降装置,其特征在于:包括机座( 1 )和模具组件( 2 ) ,所述机座( 1 )的上方设有驱动件( 3 ) ,所述的驱动件( 3 )通过传动机构( 4 )与模具组件( 2 )相连接,所述的模具组件( 2 )设于机座( 1 )下方并于机座( 1 )上下滑移配合,所述的传动机构( 4 )包括传动轴( 41 )和与驱动件( 3 )相连接的第一同步轮( 42 ) ,所述的第一同步轮( 42 )套设于传动轴 ( 41 )上并与传动轴( 41 )联动连接,所述传动轴( 41 )的两端对称的设有第二同步轮( 43 ) ,所述的第二同步轮( 43 )通过同步带( 44 )与模具组件( 2 )相连接。
2 .根据权利要求 1 所述的立体袋成型机模具升降装置,其特征在于所述的模具组件( 2 ) 包括安装架( 21 )、模具撑杆( 22 )和模具( 23 ) ,所述的同步带( 44 )通过皮带压板( 24 )与模具撑杆( 22 )固定连接,所述的模具撑杆( 22 )上设有连接座( 25 ) ,所述的模具( 23 )通过安装架 ( 21 )与连接座( 25 )相固定。
3 .根据权利要求 2 所述的立体袋成型机模具升降装置,其特征在于所述的机座( 1 )向下延伸出支架( 11 ) ,所述的支架( 11 )上设有导轨( 12 ) ,所述的安装架( 21 )上设有与导轨( 12 ) 相适配的导滑块( 211 )。
4 .根据权利要求 3 所述的立体袋成型机模具升降装置,其特征在于所述的支架( 11 )上设有第三同步轮( 45 ) ,所述的同步带( 44 )套设于第二同步轮( 43 )和第三同步轮( 45 )外。
5 .根据权利要求 3 所述的立体袋成型机模具升降装置,其特征在于所述的机座( 1 )上设有供同步带( 44 )穿过的缺口( 13 )。
6 .根据权利要求 3 所述的立体袋成型机模具升降装置,其特征在于所述的支架( 11 )有两只,每只支架( 11 )上均设有两块加强板( 14 ) ,所述的两块加强板( 14 )与同步带( 44 )间隔设置。
7 .根据权利要求 2 所述的立体袋成型机模具升降装置,其特征在于所述的模具( 23 )呈 T 字形,所述的安装架( 21 )上设有 L 形安装脚( 212 ) ,所述的 L 形安装脚( 212 )与安装架( 21 )底面配合形成用于安装 T 字形模具( 23 )的安装槽( 213 )。
8 .根据权利要求 2 所述的立体袋成型机模具升降装置,其特征在于所述的安装架( 21 ) 上设有两个气缸( 26 ) ,所述的两个气缸( 26 )关于连接座( 25 )对称分布,所述的气缸( 26 )穿过安装架( 21 )与模具( 23 )相抵。
9 .根据权利要求 1 所述的立体袋成型机模具升降装置,其特征在于所述的机座( 1 )上设有轴承座( 5 ) ,所述的轴承座( 5 )上设有支撑块( 51 )和用于安放轴承的轴承滑块( 52 ) ,所述的轴承滑块( 52 )套设于传动轴( 41 )外并与轴承座( 5 )沿传动轴( 41 )轴向限位配合。
10 .根据权利要求 9 所述的立体袋成型机模具升降装置,其特征在于所述的轴承滑块 ( 52 )上设有便于安放轴承的阶梯孔( 521 ) ,所述的轴承滑块( 52 )上凸出边沿( 522 )与轴承座 ( 5 )侧面限位配合。
技术领域
本发明涉及一种立体袋成型机,具体涉及一种立体袋成型机模具升降装置。
背景技术
无纺布袋具有环保实用的特点,近年来得到大力推广和使用,从而促使了无纺布制袋全自动成型技术的快速发展。但是随着近年来我国无纺布的发展,国内行业间出线了压价竞争恶性循环的现象。只有寻找技术密集型工艺,生产多品种、复合化、高质化、差别化等附加值高的产品才是各个企业的生存之路。因此立体感较强的立体袋成为了无纺布袋的主流,现有的无纺布立体袋是通过立体袋成型机一次加工成型的,在加工中需要通过模具升降装置将平面的无纺布压成长方体。但是现有的升降装置在实际工作过程中响应慢,电机驱动时模具下压慢且存在噪音大、模具移位等缺点。
发明内容
为解决背景技术中现有的升降装置在实际工作过程中响应慢,电机驱动时存在噪音大、模具移位的问题,本发明提供一种立体袋成型机模具升降装置。
本发明的技术方案是:一种立体袋成型机模具升降装置,包括机座和模具组件,所述机座的上方设有驱动件,所述的驱动件通过传动机构与模具组件相连接,所述的模具组件设于机座下方并于机座上下滑移配合,所述的传动机构包括传动轴和与驱动件相连接的第一同步轮,所述的第一同步轮套设于传动轴上并与传动轴联动连接,所述传动轴的两端对称的设有第二同步轮,所述的第二同步轮通过同步带与模具组件相连接。
作为本发明的一种改进,所述的模具组件包括安装架、模具撑杆和模具,所述的同步带通过皮带压板与模具撑杆固定连接,所述的模具撑杆上设有连接座,所述的模具通过安装架与连接座相固定。
作为本发明的进一步改进,所述的机座向下延伸出支架,所述的支架上设有导轨,所述的安装架上设有与导轨相适配的导滑块。
作为本发明的进一步改进,所述的支架上设有第三同步轮,所述的同步带套设于第二同步轮和第三同步轮外。
作为本发明的进一步改进,所述的机座上设有供同步带穿过的缺口。
作为本发明的进一步改进,所述的支架有两只,每只支架上均设有两块加强板,所述的两块加强板与同步带间隔设置。 〔
作为本发明的进一步改进,所述的模具呈 T 字形,所述的安装架上设有 L 形安装脚,所述的 L 形安装脚与安装架底面配合形成用于安装 T 字形模具的安装槽。
作为本发明的进一步改进,所述的安装架上设有两个气缸,所述的两个气缸关于连接座对称分布,所述的气缸穿过安装架与模具相抵。
作为本发明的进一步改进,所述的机座上设有轴承座,所述的轴承座上设有支撑块和用于安放轴承的轴承滑块,所述的轴承滑块套设于传动轴外并与轴承座沿传动轴轴向限位配合。
作为本发明的进一步改进,所述的轴承滑块上设有便于安放轴承的阶梯孔,所述的轴承滑块上凸出边沿与轴承座侧面限位配合。
本发明的有益效果是,通过对称设置的第二同步轮和同步带,带动模具组件可靠升降,升降时平稳使得加工出的立体袋不会移位,便于下一步加工,而且通过同步带传动噪音小,响应快。本发明还具有结构简单,装配方便,动作可靠,使用寿命长等优点。
附图说明
附图 1 为本发明实施例的结构示意图。
附图 2 为附图 1 中模具组件 2 的结构示意图。
附图 3 为附图 2 的爆炸结构示意图。
图中, 1 、机座; 11 、支架; 12 、导轨; 13 、缺口; 14 、加强板; 2 、模具组件; 21 、安装架; 211 、导滑块; 212 、 L 形安装脚; 213 、安装槽; 22 、模具撑杆; 23 、模具; 24 、皮带压板; 25 、连接座; 26 、气缸; 3 、驱动件; 4 、传动机构; 41 、传动轴; 42 、第一同步轮; 43 、第二同步轮; 44 、同步带; 45 、第三同步轮; 5 、轴承座; 51 、支撑块; 52 、轴承滑块; 521 、阶梯孔; 522 、边沿。
具体实施方式
下面结合附图对本发明实施例作进一步说明:由图 1 结合图 2 、 3 、 4 所示,一种立体袋成型机模具升降装置,包括机座 1 和模具组件 2 ,所述机座 1 的上方设有驱动件 3 ,所述的驱动件为伺服电机,所述的驱动件 3 通过传动机构 4 与模具组件 2 相连接,所述的模具组件 2 设于机座 1 下方并于机座 1 上下滑移配合,所述的传动机构 4 包括传动轴 41 和与驱动件 3 相连接的第一同步轮 42 ,所述的第一同步轮 42 套设于传动轴 41 上并与传动轴 41 联动连接,所述传动轴 41 的两端对称的设有第二同步轮 43 ,所述的第二同步轮 43 通过同步带 44 与模具组件 2 相连接。本发明的有益效果是,通过对称设置的第二同步轮和同步带,带动模具组件可靠升降,升降时平稳使得加工出的立体袋不会移位,便于下一步加工,而且通过同步带传动噪音小,响应快。本发明还具有结构简单,装配方便,动作可靠,使用寿命长等优点。
所述的模具组件 2 包括安装架 21 、模具撑杆 22 和模具 23 ,所述的同步带 44 通过皮带压板 24 与模具撑杆 22 固定连接,所述的模具撑杆 22 上设有连接座 25 ,所述的模具 23 通过安装架 21 与连接座 25 相固定。具体的说,所述的模具通过螺栓固定在安装架和连接座上。所述的皮带压板上设有与同步带齿相适配的凹槽。所述的连接座套设于模具撑杆的中心。这样的结构使得同步带能可靠的通过模具撑杆从而带动模具可靠升降,连接可靠,动作平稳。
所述的机座 1 向下延伸出支架 11 ,所述的支架 11 上设有导轨 12 ,所述的安装架 21 上设有与导轨 12 相适配的导滑块 211 。当然在实际生产加工过程中也可以在安装架上设置导轨,在机座上设置滚轮或者导滑块。当然在实际生产过程中,也可以设置滑槽与滚轮的配合方式。所述的机座 1 上设有供同步带 44 穿过的缺口 13 。所述的支架 11 有两只,每只支架 11 上均设有两块加强板 14 ,所述的两块加强板 14 与同步带 44 间隔设置。本发明中,导轨可以设置在加强板上。两块加强板将环形同步带的竖直部间隔开,使得产品运行平稳。同时设置四根导轨使得本发明上升和下降中运行平稳可靠,同步性好。
所述的支架 11 上设有第三同步轮 45 ,所述的同步带 44 套设于第二同步轮 43 和第三同步轮 45 外。这样的结构使得产品传动可靠,运动平稳,同步性好。
所述的模具 23 呈 T 字形,所述的安装架 21 上设有 L 形安装脚 2 12 ,所述的 L 形安装脚 212 与安装架 21 底面配合形成用于安装 T 字形模具 23 的安装槽 213 。这样的结构便于模具的安装固定,固定可靠,便于产品的拆装维修。
所述的安装架 21 上设有两个气缸 26 ,所述的两个气缸 26 关于连接座 25 对称分布,所述的气缸 26 穿过安装架 21 与模具 23 相抵。两个对称设置的气缸将模具抵在安装架的 L 形安装脚上,避免工作过程中模具移位,使得模具动作平稳可靠,保证产品品质。
所述的机座 1 上设有轴承座 5 ,所述的轴承座 5 上设有支撑块 51 和用于安放轴承的轴承滑块 52 ,所述的轴承滑块 52 套设于传动轴 41 外并与轴承座 5 沿传动轴 41 轴向限位配合。所述的轴承滑块 52 上设有便于安放轴承的阶梯孔 521 ,所述的轴承滑块 52 上凸出边沿 522 与轴承座 5 侧面限位配合。这样的结构便于轴承的安装固定维修,保证传动轴可靠转动。
各位技术人员须知:虽然本发明已按照上述具体实施方式做了描述,但是本发明的发明思想并不仅限于此发明,任何运用本发明思想的改装,都将纳入本专利专利权保护范围内。
