应用案例
您当前的位置:产品应用
一种散热片自动上料机构
一种散热片自动上料机构
【申请(专利)号: CN201611097989.8 ;申请权利人:湖北派特仕机电科技有限公司; 发明设计人:关山月; 】
摘要:
本发明提供一种散热片自动上料机构,其特征在于:包括支撑装置和安装在所述支撑装置上的驱动与夹取装置、输料装置、滑移装置,其中;所述支撑装置主要包括底座、支撑板、肋板和支撑台;所述的驱动与夹取装置主要包括电机一、电机二、电机三和气动手指;所述的输料装置由电机一、同步带一、同步带轮、连接块一、导轨、滑块以及散热片组成;所述电机一驱动同步带轮,带动同步带一运动;所述的滑移装置主要包括横向滑移部分和纵向滑移部分;本发明涉及一种散热片自动上料机构,通过该机构可以实现散热片的自动上料,该装置可有效的实现不同规格的散热片上料工序,占用空间小并大大提高上料效率。
主权项:
一种散热片自动上料机构,其特征在于:包括支撑装置和安装在所述支撑装置上的驱动与夹取装置、输料装置、滑移装置,其中;所述支撑装置主要包括底座、支撑板、肋板和支撑台;所述支撑板通过肋板与底座连接;所述的驱动与夹取装置主要包括电机一、电机二、电机三和气动手指;所述电机一主要驱动输料装置;所述电机二驱动滑移装置纵向移动;所述电机三驱动滑移装置横向滑移;所述的输料装置由电机一、同步带一、同步带轮、连接块一、导轨、滑块以及散热片组成;所述电机一驱动同步带轮,带动同步带一运动;所述滑块通过连接块一与同步带一固定连接;所述散热片在电机一的驱动下,可实现散热片的同步间歇输送;所述的滑移装置主要包括横向滑移部分和纵向滑移部分。
要求:
1.一种散热片自动上料机构,其特征在于:包括支撑装置和安装在所述支撑装置上的驱动与夹取装置、输料装置、滑移装置,其中;
所述支撑装置主要包括底座、支撑板、肋板和支撑台;所述支撑板通过肋板与底座连接;
所述的驱动与夹取装置主要包括电机一、电机二、电机三和气动手指;所述电机一主要驱动输料装置;所述电机二驱动滑移装置纵向移动;所述电机三驱动滑移装置横向滑移;
所述的输料装置由电机一、同步带一、同步带轮、连接块一、导轨、滑块以及散热片组成;所述电机一驱动同步带轮,带动同步带一运动;所述滑块通过连接块一与同步带一固定连接;所述散热片在电机一的驱动下,可实现散热片的同步间歇输送;
所述的滑移装置主要包括横向滑移部分和纵向滑移部分。
2.如权利要求1所述的一种散热片自动上料机构,其特征在于:所述底座主要安装输料装置;所述支撑板主要安装滑移装置。
3.如权利要求1所述的一种散热片自动上料机构,其特征在于:所述气动手指在气缸的作用下,实现物料的夹取工作。
4.如权利要求1所述的一种散热片自动上料机构,其特征在于:所述的横向滑移部分主要由电机三、滚珠丝杠、限位杆、滚珠螺母、连接板以及横向导轨组成。
5.如权利要求4所述的一种散热片自动上料机构,其特征在于:所述电机三驱动滚珠丝杠旋转运动,带动滚珠丝杠上面的滚珠螺母横向移动,所述连接板与滚珠螺母连接,所述滚珠螺母带动连接板沿着横向导轨横向滑移。
6.如权利要求1所述的一种散热片自动上料机构,其特征在于:所述的纵向滑移部分主要包括电机二、同步带二、连接块二、滑移板、气动手指以及纵向导轨。
7.如权利要求6所述的一种散热片自动上料机构,其特征在于:所述同步带二和纵向导轨布置在连接板上。
8.如权利要求7所述的一种散热片自动上料机构,其特征在于:所述滑移板通过连接块二与同步带二固定连接。
9.如权利要求8所述的一种散热片自动上料机构,其特征在于:所述气动手指安装在滑移板上;通过电机二的驱动,可实现滑移板带动气动手指沿纵向导轨纵向滑移。
技术领域
本发明涉及自动上料的机械结构的技术领域,特别涉及到一种散热片自动上料装置。
背景技术
散热片是一种给电器中的易发热电子元件散热的装置,多由铝合金,黄铜或青铜做成板状,片状,多片状等。一般的散热片上料装置设计不能满足不同规格的散热片的上料,而且装置设计复杂,工作效率低下,占用空间大,降低散热片后续加工工序。
发明内容
本发明是一种散热片自动上料机构,通过该机构可以实现散热片的自动上料,该装置可有效的实现不同规格的散热片上料工序,占用空间小并大大提高上料效率。
为实现上述目的,本发明提供如下技术方案:本发明是一种散热片自动上料机构,通过该机构可以实现散热片横向和纵向输送,输送平稳且精确。所述机构主要包括支撑部分、驱动与夹取装置、输料装置、滑移装置四部分。
该散热片自动上料机构的支撑部分部分主要包括底座、支撑板、肋板和支撑台。所述支撑板通过肋板与底座连接;所述底座主要布置输料装置;所述支撑板主要布置滑移装置。
该散热片自动上料机构的驱动与夹取装置主要包括电机一、电机二、电机三和气动手指。所述电机一主要驱动输料装置;所述电机二驱动滑移装置纵向移动;所述电机三驱动滑移装置横向滑移;所述气动手指在气缸的作用下,实现物料的夹取工作。
该散热片自动上料机构的输料装置由电机一、同步带一、同步带轮、连接块一、导轨、滑块以及散热片组成。所述电机一驱动同步带轮,带动同步带一运动;所述滑块通过连接块一与同步带一固定连接;所述散热片在电机一的驱动下,可实现散热片的同步间歇输送。
该散热片自动上料机构的滑移装置主要包括横向滑移部分和纵向滑移部分。横向滑移部分主要由电机三、滚珠丝杠、限位杆、滚珠螺母、连接板以及横向导轨组成;所述电机三驱动滚珠丝杠旋转运动,带动滚珠丝杠上面的滚珠螺母横向移动,所述连接板与滚珠螺母连接,所述滚珠螺母带动连接板沿着横向导轨横向滑移。纵向滑移部分主要包括电机二、同步带二、连接块二、滑移板、气动手指以及纵向导轨;所述同步带二和纵向导轨布置在连接板上;所述滑移板通过连接块二与同步带二固定连接;所述气动手指安装在滑移板上;通过电机二的驱动,可实现滑移板带动气动手指沿纵向导轨纵向滑移。
附图说明

图2是本发明的立体结构正视图;

图3是本发明的输料装置结构示意图;

图4是本发明的滑移装置结构示意图;
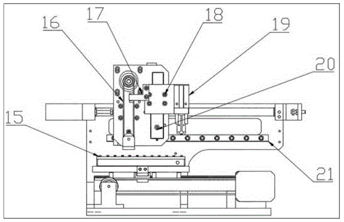
附图中的标记说明
1、底座,2、同步带轮,3、连接块一,4、同步带一,5、电机一,6、导轨,7、限位杆,8、滚珠丝杠,9、电机二,10、电机三,11、支撑板,12、肋板,13、支撑台,14、滑块,15、散热片,16、同步带二,17、连接块二,18、滑移板,19、气动手指,20、纵向导轨,21、横向导轨,22、滚珠螺母,23、连接板。
具体实施方式
本发明是一种散热片自动上料机构,主要包括支撑部分、驱动与夹取装置、输料装置、滑移装置等四部分组成。
该散热片自动上料机构的支撑部分部分主要包括底座1、支撑板11、肋板12和支撑台13。所述支撑板11通过肋板12与底座1连接;所述底座1主要布置输料装置;所述支撑板11主要布置滑移装置。
该散热片自动上料机构的驱动与夹取装置主要包括电机一5、电机二9、电机三10和气动手指19。所述电机一5主要驱动上料装置;所述电机二9驱动滑移装置纵向移动;所述电机三10驱动滚珠丝杠8工作,带动气动手指19横向滑移;所述气动手指19在气缸的作用下,实现物料的夹取工作。
该散热片自动上料机构的输料装置由电机一5、同步带一4、同步带轮2、连接块一3、导轨6、滑块14以及散热片15组成。所述电机一5驱动同步带轮2,带动同步带一4运动;所述滑块14通过连接块一3与同步带一4固定连接;所述滑块14上依次放置散热片15;所述散热片15在电机一5的驱动下,可实现散热片的同步间歇输送。
该散热片自动上料机构的滑移装置主要包括横向滑移部分和纵向滑移部分。横向滑移部分主要由电机三10、滚珠丝杠7、限位杆8、滚珠螺母22、连接板23以及横向导轨21组成;所述电机三10驱动滚珠丝杠7旋转运动,带动滚珠丝杠7上面的滚珠螺母22横向移动,所述连接板23与滚珠螺母22连接,所述滚珠螺母22带动连接板23沿着横向导轨21横向滑移。纵向滑移部分主要包括电机二9、同步带二16、连接块二17、滑移板18、气动手指19以及纵向导轨20;所述同步带二16和纵向导轨20布置在连接板23上;所述电机二9驱动同步带轮运动;所述滑移板18通过连接块二17与同步带二16固定连接;所述气动手指19安装在滑移板18上;通过电机二9的驱动,可实现滑移板18带动气动手指19沿纵向导轨20纵向滑移。
本发明的具体操作步骤为:
1、首先,散热片由上一步工序输送到滑块上,电机一驱动同步带,带动滑块横向运动,使散热片输送到一个合适的位置;
2、当散热片输送到一定的位置之后,气动手指在电机二和电机三的作用下,分别实现横向和纵向移动,使得气动手指运动到散热片的上方位置;
3、通过气缸作用,气动手指夹取散热片,然后通过横向和纵向滑移装置,将散热片输送到下一工序位置,完成散热片的自动上料过程。
【申请(专利)号: CN201611097989.8 ;申请权利人:湖北派特仕机电科技有限公司; 发明设计人:关山月; 】
摘要:
本发明提供一种散热片自动上料机构,其特征在于:包括支撑装置和安装在所述支撑装置上的驱动与夹取装置、输料装置、滑移装置,其中;所述支撑装置主要包括底座、支撑板、肋板和支撑台;所述的驱动与夹取装置主要包括电机一、电机二、电机三和气动手指;所述的输料装置由电机一、同步带一、同步带轮、连接块一、导轨、滑块以及散热片组成;所述电机一驱动同步带轮,带动同步带一运动;所述的滑移装置主要包括横向滑移部分和纵向滑移部分;本发明涉及一种散热片自动上料机构,通过该机构可以实现散热片的自动上料,该装置可有效的实现不同规格的散热片上料工序,占用空间小并大大提高上料效率。
主权项:
一种散热片自动上料机构,其特征在于:包括支撑装置和安装在所述支撑装置上的驱动与夹取装置、输料装置、滑移装置,其中;所述支撑装置主要包括底座、支撑板、肋板和支撑台;所述支撑板通过肋板与底座连接;所述的驱动与夹取装置主要包括电机一、电机二、电机三和气动手指;所述电机一主要驱动输料装置;所述电机二驱动滑移装置纵向移动;所述电机三驱动滑移装置横向滑移;所述的输料装置由电机一、同步带一、同步带轮、连接块一、导轨、滑块以及散热片组成;所述电机一驱动同步带轮,带动同步带一运动;所述滑块通过连接块一与同步带一固定连接;所述散热片在电机一的驱动下,可实现散热片的同步间歇输送;所述的滑移装置主要包括横向滑移部分和纵向滑移部分。
要求:
1.一种散热片自动上料机构,其特征在于:包括支撑装置和安装在所述支撑装置上的驱动与夹取装置、输料装置、滑移装置,其中;
所述支撑装置主要包括底座、支撑板、肋板和支撑台;所述支撑板通过肋板与底座连接;
所述的驱动与夹取装置主要包括电机一、电机二、电机三和气动手指;所述电机一主要驱动输料装置;所述电机二驱动滑移装置纵向移动;所述电机三驱动滑移装置横向滑移;
所述的输料装置由电机一、同步带一、同步带轮、连接块一、导轨、滑块以及散热片组成;所述电机一驱动同步带轮,带动同步带一运动;所述滑块通过连接块一与同步带一固定连接;所述散热片在电机一的驱动下,可实现散热片的同步间歇输送;
所述的滑移装置主要包括横向滑移部分和纵向滑移部分。
2.如权利要求1所述的一种散热片自动上料机构,其特征在于:所述底座主要安装输料装置;所述支撑板主要安装滑移装置。
3.如权利要求1所述的一种散热片自动上料机构,其特征在于:所述气动手指在气缸的作用下,实现物料的夹取工作。
4.如权利要求1所述的一种散热片自动上料机构,其特征在于:所述的横向滑移部分主要由电机三、滚珠丝杠、限位杆、滚珠螺母、连接板以及横向导轨组成。
5.如权利要求4所述的一种散热片自动上料机构,其特征在于:所述电机三驱动滚珠丝杠旋转运动,带动滚珠丝杠上面的滚珠螺母横向移动,所述连接板与滚珠螺母连接,所述滚珠螺母带动连接板沿着横向导轨横向滑移。
6.如权利要求1所述的一种散热片自动上料机构,其特征在于:所述的纵向滑移部分主要包括电机二、同步带二、连接块二、滑移板、气动手指以及纵向导轨。
7.如权利要求6所述的一种散热片自动上料机构,其特征在于:所述同步带二和纵向导轨布置在连接板上。
8.如权利要求7所述的一种散热片自动上料机构,其特征在于:所述滑移板通过连接块二与同步带二固定连接。
9.如权利要求8所述的一种散热片自动上料机构,其特征在于:所述气动手指安装在滑移板上;通过电机二的驱动,可实现滑移板带动气动手指沿纵向导轨纵向滑移。
技术领域
本发明涉及自动上料的机械结构的技术领域,特别涉及到一种散热片自动上料装置。
背景技术
散热片是一种给电器中的易发热电子元件散热的装置,多由铝合金,黄铜或青铜做成板状,片状,多片状等。一般的散热片上料装置设计不能满足不同规格的散热片的上料,而且装置设计复杂,工作效率低下,占用空间大,降低散热片后续加工工序。
发明内容
本发明是一种散热片自动上料机构,通过该机构可以实现散热片的自动上料,该装置可有效的实现不同规格的散热片上料工序,占用空间小并大大提高上料效率。
为实现上述目的,本发明提供如下技术方案:本发明是一种散热片自动上料机构,通过该机构可以实现散热片横向和纵向输送,输送平稳且精确。所述机构主要包括支撑部分、驱动与夹取装置、输料装置、滑移装置四部分。
该散热片自动上料机构的支撑部分部分主要包括底座、支撑板、肋板和支撑台。所述支撑板通过肋板与底座连接;所述底座主要布置输料装置;所述支撑板主要布置滑移装置。
该散热片自动上料机构的驱动与夹取装置主要包括电机一、电机二、电机三和气动手指。所述电机一主要驱动输料装置;所述电机二驱动滑移装置纵向移动;所述电机三驱动滑移装置横向滑移;所述气动手指在气缸的作用下,实现物料的夹取工作。
该散热片自动上料机构的输料装置由电机一、同步带一、同步带轮、连接块一、导轨、滑块以及散热片组成。所述电机一驱动同步带轮,带动同步带一运动;所述滑块通过连接块一与同步带一固定连接;所述散热片在电机一的驱动下,可实现散热片的同步间歇输送。
该散热片自动上料机构的滑移装置主要包括横向滑移部分和纵向滑移部分。横向滑移部分主要由电机三、滚珠丝杠、限位杆、滚珠螺母、连接板以及横向导轨组成;所述电机三驱动滚珠丝杠旋转运动,带动滚珠丝杠上面的滚珠螺母横向移动,所述连接板与滚珠螺母连接,所述滚珠螺母带动连接板沿着横向导轨横向滑移。纵向滑移部分主要包括电机二、同步带二、连接块二、滑移板、气动手指以及纵向导轨;所述同步带二和纵向导轨布置在连接板上;所述滑移板通过连接块二与同步带二固定连接;所述气动手指安装在滑移板上;通过电机二的驱动,可实现滑移板带动气动手指沿纵向导轨纵向滑移。
附图说明
下面结合附图和实施方式对本发明作进一步说明。

图2是本发明的立体结构正视图;

图3是本发明的输料装置结构示意图;

图4是本发明的滑移装置结构示意图;
附图中的标记说明
1、底座,2、同步带轮,3、连接块一,4、同步带一,5、电机一,6、导轨,7、限位杆,8、滚珠丝杠,9、电机二,10、电机三,11、支撑板,12、肋板,13、支撑台,14、滑块,15、散热片,16、同步带二,17、连接块二,18、滑移板,19、气动手指,20、纵向导轨,21、横向导轨,22、滚珠螺母,23、连接板。
具体实施方式
本发明是一种散热片自动上料机构,主要包括支撑部分、驱动与夹取装置、输料装置、滑移装置等四部分组成。
该散热片自动上料机构的支撑部分部分主要包括底座1、支撑板11、肋板12和支撑台13。所述支撑板11通过肋板12与底座1连接;所述底座1主要布置输料装置;所述支撑板11主要布置滑移装置。
该散热片自动上料机构的驱动与夹取装置主要包括电机一5、电机二9、电机三10和气动手指19。所述电机一5主要驱动上料装置;所述电机二9驱动滑移装置纵向移动;所述电机三10驱动滚珠丝杠8工作,带动气动手指19横向滑移;所述气动手指19在气缸的作用下,实现物料的夹取工作。
该散热片自动上料机构的输料装置由电机一5、同步带一4、同步带轮2、连接块一3、导轨6、滑块14以及散热片15组成。所述电机一5驱动同步带轮2,带动同步带一4运动;所述滑块14通过连接块一3与同步带一4固定连接;所述滑块14上依次放置散热片15;所述散热片15在电机一5的驱动下,可实现散热片的同步间歇输送。
该散热片自动上料机构的滑移装置主要包括横向滑移部分和纵向滑移部分。横向滑移部分主要由电机三10、滚珠丝杠7、限位杆8、滚珠螺母22、连接板23以及横向导轨21组成;所述电机三10驱动滚珠丝杠7旋转运动,带动滚珠丝杠7上面的滚珠螺母22横向移动,所述连接板23与滚珠螺母22连接,所述滚珠螺母22带动连接板23沿着横向导轨21横向滑移。纵向滑移部分主要包括电机二9、同步带二16、连接块二17、滑移板18、气动手指19以及纵向导轨20;所述同步带二16和纵向导轨20布置在连接板23上;所述电机二9驱动同步带轮运动;所述滑移板18通过连接块二17与同步带二16固定连接;所述气动手指19安装在滑移板18上;通过电机二9的驱动,可实现滑移板18带动气动手指19沿纵向导轨20纵向滑移。
本发明的具体操作步骤为:
1、首先,散热片由上一步工序输送到滑块上,电机一驱动同步带,带动滑块横向运动,使散热片输送到一个合适的位置;
2、当散热片输送到一定的位置之后,气动手指在电机二和电机三的作用下,分别实现横向和纵向移动,使得气动手指运动到散热片的上方位置;
3、通过气缸作用,气动手指夹取散热片,然后通过横向和纵向滑移装置,将散热片输送到下一工序位置,完成散热片的自动上料过程。
