应用案例
您当前的位置:产品应用
一种角度可调的葡萄园专用喷药装置
一种角度可调的葡萄园专用喷药装置
【申请公布号:CN107771771A;申请权利人:雷晓琴;发明设计人:雷晓琴; 段华勇;】
摘要:
本发明公开了一种角度可调的葡萄园专用喷药装置,包括车体和固定在车体上的药箱,所述车体的底部安装有多个行走轮,其中一组行走轮之间的行走轮轴上固定安装有主动带轮,主动带轮通过同步带与从动带轮连接,从动带轮固定在搅拌轴的轴端,搅拌轴安装在药箱内且其轴端伸出药箱的外部,搅拌轴的外部固定安装有多个搅拌叶片,本发明的有益效果是:在车体行走时,主动带轮同步转动,通过同步带的传动作用,搅拌轴转动,带动搅拌叶片的转动,对药箱内的药液进行搅拌,防止药物沉积造成喷药效果的下降;同时喷药角度和喷药距离能够灵活的进行调整,便于提升喷药效果,整体结构简单,操作方便,可以广泛的使用在农业、林业中的喷药作业中。
主权项:
一种角度可调的葡萄园专用喷药装置,包括车体(1)和固定在车体(1)上的药箱(6),其特征在于,所述车体(1)的底部安装有多个行走轮(3),其中一组行走轮(3)之间的行走轮轴(4)上固定安装有主动带轮(2),主动带轮(2)通过同步带(5)与从动带轮(7)连接,从动带轮(7)固定在搅拌轴(23)的轴端,搅拌轴(23)安装在药箱(6)内且其轴端伸出药箱(6)的外部,搅拌轴(23)的外部固定安装有多个搅拌叶片(24),药箱(6)上设有用于加药的加药口(21);所述车体(1)上通过安装耳座(15)安装有驱动箱(10),驱动箱(10)与安装耳座(15)通过销轴铰接安装,且驱动箱(10)的底部与车体(1)之间预留有间隙,驱动箱(10)内设有喷药杆(8),喷药杆(8)的端部固定安装有用于喷药的喷头(9),喷头(9)与出药管(18)连接,出药管(18)缠绕在喷药杆(8)上并与药箱(6)连接,出药管(18)上安装有水泵(17),水泵(17)由变频电机(22)驱动,所述药箱(6)与驱动箱(10)之间还设有电缸(16),电缸(16)的两端分别铰接安装在药箱(6)与驱动箱(10)上,所述喷药杆(8)与驱动箱(10)滑动配合,驱动箱(10)内安装有正反转电机(20),正反转电机(20)的输出轴上安装有驱动齿轮(11),驱动齿轮(11)与固定在喷药杆(8)上的直齿条(12)相互啮合,所述驱动箱(10)的一侧位置还固定有导向套(13),导向套(13)与喷药杆(8)滑动配合;所述车体(1)上还安装有用于为变频电机(22)、电缸(16)和正反转电机(20)供电的蓄电池(19)。
要求:
1.一种角度可调的葡萄园专用喷药装置,包括车体(1)和固定在车体(1)上的药箱(6),其特征在于,所述车体(1)的底部安装有多个行走轮(3),其中一组行走轮(3)之间的行走轮轴(4)上固定安装有主动带轮(2),主动带轮(2)通过同步带(5)与从动带轮(7)连接,从动带轮(7)固定在搅拌轴(23)的轴端,搅拌轴(23)安装在药箱(6)内且其轴端伸出药箱(6)的外部,搅拌轴(23)的外部固定安装有多个搅拌叶片(24),药箱(6)上设有用于加药的加药口(21);所述车体(1)上通过安装耳座(15)安装有驱动箱(10),驱动箱(10)与安装耳座(15)通过销轴铰接安装,且驱动箱(10)的底部与车体(1)之间预留有间隙,驱动箱(10)内设有喷药杆(8),喷药杆(8)的端部固定安装有用于喷药的喷头(9),喷头(9)与出药管(18)连接,出药管(18)缠绕在喷药杆(8)上并与药箱(6)连接,出药管(18)上安装有水泵(17),水泵(17)由变频电机(22)驱动,所述药箱(6)与驱动箱(10)之间还设有电缸(16),电缸(16)的两端分别铰接安装在药箱(6)与驱动箱(10)上,所述喷药杆(8)与驱动箱(10)滑动配合,驱动箱(10)内安装有正反转电机(20),正反转电机(20)的输出轴上安装有驱动齿轮(11),驱动齿轮(11)与固定在喷药杆(8)上的直齿条(12)相互啮合,所述驱动箱(10)的一侧位置还固定有导向套(13),导向套(13)与喷药杆(8)滑动配合;所述车体(1)上还安装有用于为变频电机(22)、电缸(16)和正反转电机(20)供电的蓄电池(19)。
2.根据权利要求1所述的一种角度可调的葡萄园专用喷药装置,其特征在于,所述喷药杆(8)的头端固定有与其垂直的固定杆,固定杆与喷药杆(8)形成T字形结构,固定杆的端部固定有多个喷头(9)。
3.根据权利要求2所述的一种角度可调的葡萄园专用喷药装置,其特征在于,所述固定杆上还固定有防风罩,将多个喷头(9)笼罩在内部。
4.根据权利要求3所述的一种角度可调的葡萄园专用喷药装置,其特征在于,所述喷药杆(8)上等间距的固定有多个导向环(14),出药管(18)穿过多个导向环(14)后与喷头(9)连接。
5.根据权利要求4所述的一种角度可调的葡萄园专用喷药装置,其特征在于,所述药箱(6)的底部还连接有排水管(25),排水管(25)上安装有阀门。
6.根据权利要求5所述的一种角度可调的葡萄园专用喷药装置,其特征在于,所述药箱(6)上还设有透明的液位观察窗,液位观察窗上印有刻度。
7.根据权利要求6所述的一种角度可调的葡萄园专用喷药装置,其特征在于,所述车体(1)的一侧设有把手;或所述车体(1)上搭载有动力装置。
一种角度可调的葡萄园专用喷药装置
技术领域
本发明涉及一种喷药装置,具体是一种角度可调的葡萄园专用喷药装置。
背景技术
我国葡萄分布区域广泛,地形复杂,有丘陵和平原,加之葡萄品种多样,造成种植模式繁杂。不同的种植方式,葡萄结果位置不同,果实接收光照的时间和长短也不一样,品质也不同。一般在葡萄生产中主要有篱架式、棚架式和柱式架三类。而篱架式主要类型有单篱架、双篱架和宽顶篱架。篱架式的架面与地面呈垂直或倾斜,葡萄枝叶即分布在架面上。
目前葡萄的喷药作业大多采用人工作业的背负式,且用药量大,劳动强度大但效率低。
发明内容
本发明的目的在于提供一种角度可调的葡萄园专用喷药装置,以解决上述背景技术中提出的问题。
为实现上述目的,本发明提供如下技术方案:
一种角度可调的葡萄园专用喷药装置,包括车体和固定在车体上的药箱,所述车体的底部安装有多个行走轮,其中一组行走轮之间的行走轮轴上固定安装有主动带轮,主动带轮通过同步带与从动带轮连接,从动带轮固定在搅拌轴的轴端,搅拌轴安装在药箱内且其轴端伸出药箱的外部,搅拌轴的外部固定安装有多个搅拌叶片,药箱上设有用于加药的加药口;所述车体上通过安装耳座安装有驱动箱,驱动箱与安装耳座通过销轴铰接安装,且驱动箱的底部与车体之间预留有间隙,驱动箱内设有喷药杆,喷药杆的端部固定安装有用于喷药的喷头,喷头与出药管连接,出药管缠绕在喷药杆上并与药箱连接,出药管上安装有水泵,水泵由变频电机驱动,所述药箱与驱动箱之间还设有电缸,电缸的两端分别铰接安装在药箱与驱动箱上,所述喷药杆与驱动箱滑动配合,驱动箱内安装有正反转电机,正反转电机的输出轴上安装有驱动齿轮,驱动齿轮与固定在喷药杆上的直齿条相互啮合,所述驱动箱的一侧位置还固定有导向套,导向套与喷药杆滑动配合;所述车体上还安装有用于为变频电机、正反转电机和电缸供电的蓄电池。
作为本发明进一步的方案:所述喷药杆的头端固定有与其垂直的固定杆,固定杆与喷药杆形成T字形结构,固定杆的端部固定有多个喷头。
作为本发明再进一步的方案:所述固定杆上还固定有防风罩,将多个喷头笼罩在内部。
作为本发明再进一步的方案:所述喷药杆上等间距的固定有多个导向环,出药管穿过多个导向环后与喷头连接。
作为本发明再进一步的方案:所述药箱的底部还连接有排水管,排水管上安装有阀门。
作为本发明再进一步的方案:所述药箱上还设有透明的液位观察窗,液位观察窗上印有刻度。
作为本发明再进一步的方案:所述车体的一侧设有把手;或所述车体上搭载有动力装置。
与现有技术相比,本发明的有益效果是:在车体行走时,主动带轮同步转动,通过同步带的传动作用,搅拌轴转动,带动搅拌叶片的转动,对药箱内的药液进行搅拌,防止药物沉积造成喷药效果的下降;同时喷药角度和喷药距离能够灵活的进行调整,便于提升喷药效果,整体结构简单,操作方便,可以广泛的使用在农业、林业中的喷药作业中。
附图说明

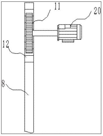
图1为一种角度可调的葡萄园专用喷药装置的结构示意图。

图2为一种角度可调的葡萄园专用喷药装置中药箱的结构示意图。

图3为一种角度可调的葡萄园专用喷药装置中驱动齿轮的传动示意图。
图中:1-车体、2-主动带轮、3-行走轮、4-行走轮轴、5-同步带、6-药箱、7-从动带轮、8-喷药杆、9-喷头、10-驱动箱、11-驱动齿轮、12-直齿条、13-导向套、14-导向环、15-安装耳座、16-电缸、17-水泵、18-出药管、19-蓄电池、20-正反转电机、21-加药口、22-变频电机、23-搅拌轴、24-搅拌叶片、25-排水管。
具体实施方式
下面将结合本发明实施例中的附图,对本发明实施例中的技术方案进行清楚、完整地描述,显然,所描述的实施例仅仅是本发明一部分实施例,而不是全部的实施例。基于本发明中的实施例,本领域普通技术人员在没有做出创造性劳动前提下所获得的所有其他实施例,都属于本发明保护的范围。
请参阅图1~3,本发明实施例中,一种角度可调的葡萄园专用喷药装置,包括车体1和固定在车体1上的药箱6,所述车体1的底部安装有多个行走轮3,其中一组行走轮3之间的行走轮轴4上固定安装有主动带轮2,主动带轮2通过同步带5与从动带轮7连接,从动带轮7固定在搅拌轴23的轴端,搅拌轴23安装在药箱6内且其轴端伸出药箱6的外部,搅拌轴23的外部固定安装有多个搅拌叶片24,在车体1行走时,主动带轮2同步转动,通过同步带5的传动作用,搅拌轴23转动,带动搅拌叶片24的转动,对药箱6内的药液进行搅拌,防止药物沉积造成喷药效果的下降,药箱6上设有用于加药的加药口21;所述车体1上通过安装耳座15安装有驱动箱10,驱动箱10与安装耳座15通过销轴铰接安装,且驱动箱10的底部与车体1之间预留有间隙,驱动箱10内设有喷药杆8,喷药杆8的端部固定安装有用于喷药的喷头9,喷头9与出药管18连接,出药管18缠绕在喷药杆8上并与药箱6连接,出药管18上安装有水泵17,水泵17由变频电机22驱动,工作时,变频电机22驱动水泵17作业,将药箱6内的药液泵入到出药管18内,并从喷头9喷出,药液最终落在葡萄植株上,所述药箱6与驱动箱10之间还设有电缸16,电缸16的两端分别铰接安装在药箱6与驱动箱10上,在电缸16伸长时,由于药箱6是固定的,而驱动箱10是活动安装的,此时驱动箱10的角度发生转动,带动喷药杆8和喷头9的角度发生变化,实现喷药角度的调节;所述车体1上还安装有用于为变频电机22和电缸16供电的蓄电池19。
所述喷药杆8与驱动箱10滑动配合,驱动箱10内安装有正反转电机20,正反转电机20的输出轴上安装有驱动齿轮11,驱动齿轮11与固定在喷药杆8上的直齿条12相互啮合,在驱动齿轮11转动时,能实现喷药杆8的伸出或缩短,实现喷药杆8长度的变化。
所述驱动箱10的一侧位置还固定有导向套13,导向套13与喷药杆8滑动配合,便于对喷药杆8的运动进行导向,同时,导向套13的设计使得喷药杆8与驱动箱10的连接更加可靠,增强了整体强度。
所述喷药杆8上等间距的固定有多个导向环14,出药管18穿过多个导向环14后与喷头9连接。
所述药箱6的底部还连接有排水管25,排水管25上安装有阀门,当需要将药箱6内药液排空或将对药箱6的清洗水排空时,打开排水管25上的阀门即可,非常方便。
所述药箱6上还设有透明的液位观察窗,液位观察窗上印有刻度,便于直接的观察到药箱6内药液的含量。
所述车体1的一侧设有把手,便于推拉;或所述车体1上搭载有动力装置,节约劳动力。
所述喷药杆8的头端固定有与其垂直的固定杆,固定杆与喷药杆8形成T字形结构,固定杆的端部固定有多个喷头9,提高作业效率。
所述固定杆上还固定有防风罩,将多个喷头9笼罩在内部,减少风力对喷药效果造成的影响。
本发明的工作原理是:工作时,将药液加入到药箱6,在车体1行走时,主动带轮2同步转动,通过同步带5的传动作用,搅拌轴23转动,带动搅拌叶片24的转动,对药箱6内的药液进行搅拌,防止药物沉积造成喷药效果的下降,喷液时,变频电机22驱动水泵17作业,将药箱6内的药液泵入到出药管18内,并从喷头9喷出,药液最终喷洒在葡萄植株上,若需要对喷洒角度进行调整,则启动电缸16,由于药箱6是固定的,而驱动箱10是活动安装的,此时驱动箱10的角度发生转动,带动喷药杆8和喷头9的角度发生变化,实现喷药角度的调节,可以适应不同高度的葡萄植株;若需要对更远处的葡萄植株进行喷药,则可以启动正反转电机20,正反转电机20带动驱动齿轮11转动,能实现喷药杆8的伸出或缩短,实现喷药杆8长度的变化。
对于本领域技术人员而言,显然本发明不限于上述示范性实施例的细节,而且在不背离本发明的精神或基本特征的情况下,能够以其他的具体形式实现本发明。因此,无论从哪一点来看,均应将实施例看作是示范性的,而且是非限制性的,本发明的范围由所附权利要求而不是上述说明限定,因此旨在将落在权利要求的等同要件的含义和范围内的所有变化囊括在本发明内。不应将权利要求中的任何附图标记视为限制所涉及的权利要求。
此外,应当理解,虽然本说明书按照实施方式加以描述,但并非每个实施方式仅包含一个独立的技术方案,说明书的这种叙述方式仅仅是为清楚起见,本领域技术人员应当将说明书作为一个整体,各实施例中的技术方案也可以经适当组合,形成本领域技术人员可以理解的其他实施方式。
【申请公布号:CN107771771A;申请权利人:雷晓琴;发明设计人:雷晓琴; 段华勇;】
摘要:
本发明公开了一种角度可调的葡萄园专用喷药装置,包括车体和固定在车体上的药箱,所述车体的底部安装有多个行走轮,其中一组行走轮之间的行走轮轴上固定安装有主动带轮,主动带轮通过同步带与从动带轮连接,从动带轮固定在搅拌轴的轴端,搅拌轴安装在药箱内且其轴端伸出药箱的外部,搅拌轴的外部固定安装有多个搅拌叶片,本发明的有益效果是:在车体行走时,主动带轮同步转动,通过同步带的传动作用,搅拌轴转动,带动搅拌叶片的转动,对药箱内的药液进行搅拌,防止药物沉积造成喷药效果的下降;同时喷药角度和喷药距离能够灵活的进行调整,便于提升喷药效果,整体结构简单,操作方便,可以广泛的使用在农业、林业中的喷药作业中。
主权项:
一种角度可调的葡萄园专用喷药装置,包括车体(1)和固定在车体(1)上的药箱(6),其特征在于,所述车体(1)的底部安装有多个行走轮(3),其中一组行走轮(3)之间的行走轮轴(4)上固定安装有主动带轮(2),主动带轮(2)通过同步带(5)与从动带轮(7)连接,从动带轮(7)固定在搅拌轴(23)的轴端,搅拌轴(23)安装在药箱(6)内且其轴端伸出药箱(6)的外部,搅拌轴(23)的外部固定安装有多个搅拌叶片(24),药箱(6)上设有用于加药的加药口(21);所述车体(1)上通过安装耳座(15)安装有驱动箱(10),驱动箱(10)与安装耳座(15)通过销轴铰接安装,且驱动箱(10)的底部与车体(1)之间预留有间隙,驱动箱(10)内设有喷药杆(8),喷药杆(8)的端部固定安装有用于喷药的喷头(9),喷头(9)与出药管(18)连接,出药管(18)缠绕在喷药杆(8)上并与药箱(6)连接,出药管(18)上安装有水泵(17),水泵(17)由变频电机(22)驱动,所述药箱(6)与驱动箱(10)之间还设有电缸(16),电缸(16)的两端分别铰接安装在药箱(6)与驱动箱(10)上,所述喷药杆(8)与驱动箱(10)滑动配合,驱动箱(10)内安装有正反转电机(20),正反转电机(20)的输出轴上安装有驱动齿轮(11),驱动齿轮(11)与固定在喷药杆(8)上的直齿条(12)相互啮合,所述驱动箱(10)的一侧位置还固定有导向套(13),导向套(13)与喷药杆(8)滑动配合;所述车体(1)上还安装有用于为变频电机(22)、电缸(16)和正反转电机(20)供电的蓄电池(19)。
要求:
1.一种角度可调的葡萄园专用喷药装置,包括车体(1)和固定在车体(1)上的药箱(6),其特征在于,所述车体(1)的底部安装有多个行走轮(3),其中一组行走轮(3)之间的行走轮轴(4)上固定安装有主动带轮(2),主动带轮(2)通过同步带(5)与从动带轮(7)连接,从动带轮(7)固定在搅拌轴(23)的轴端,搅拌轴(23)安装在药箱(6)内且其轴端伸出药箱(6)的外部,搅拌轴(23)的外部固定安装有多个搅拌叶片(24),药箱(6)上设有用于加药的加药口(21);所述车体(1)上通过安装耳座(15)安装有驱动箱(10),驱动箱(10)与安装耳座(15)通过销轴铰接安装,且驱动箱(10)的底部与车体(1)之间预留有间隙,驱动箱(10)内设有喷药杆(8),喷药杆(8)的端部固定安装有用于喷药的喷头(9),喷头(9)与出药管(18)连接,出药管(18)缠绕在喷药杆(8)上并与药箱(6)连接,出药管(18)上安装有水泵(17),水泵(17)由变频电机(22)驱动,所述药箱(6)与驱动箱(10)之间还设有电缸(16),电缸(16)的两端分别铰接安装在药箱(6)与驱动箱(10)上,所述喷药杆(8)与驱动箱(10)滑动配合,驱动箱(10)内安装有正反转电机(20),正反转电机(20)的输出轴上安装有驱动齿轮(11),驱动齿轮(11)与固定在喷药杆(8)上的直齿条(12)相互啮合,所述驱动箱(10)的一侧位置还固定有导向套(13),导向套(13)与喷药杆(8)滑动配合;所述车体(1)上还安装有用于为变频电机(22)、电缸(16)和正反转电机(20)供电的蓄电池(19)。
2.根据权利要求1所述的一种角度可调的葡萄园专用喷药装置,其特征在于,所述喷药杆(8)的头端固定有与其垂直的固定杆,固定杆与喷药杆(8)形成T字形结构,固定杆的端部固定有多个喷头(9)。
3.根据权利要求2所述的一种角度可调的葡萄园专用喷药装置,其特征在于,所述固定杆上还固定有防风罩,将多个喷头(9)笼罩在内部。
4.根据权利要求3所述的一种角度可调的葡萄园专用喷药装置,其特征在于,所述喷药杆(8)上等间距的固定有多个导向环(14),出药管(18)穿过多个导向环(14)后与喷头(9)连接。
5.根据权利要求4所述的一种角度可调的葡萄园专用喷药装置,其特征在于,所述药箱(6)的底部还连接有排水管(25),排水管(25)上安装有阀门。
6.根据权利要求5所述的一种角度可调的葡萄园专用喷药装置,其特征在于,所述药箱(6)上还设有透明的液位观察窗,液位观察窗上印有刻度。
7.根据权利要求6所述的一种角度可调的葡萄园专用喷药装置,其特征在于,所述车体(1)的一侧设有把手;或所述车体(1)上搭载有动力装置。
一种角度可调的葡萄园专用喷药装置
技术领域
本发明涉及一种喷药装置,具体是一种角度可调的葡萄园专用喷药装置。
背景技术
我国葡萄分布区域广泛,地形复杂,有丘陵和平原,加之葡萄品种多样,造成种植模式繁杂。不同的种植方式,葡萄结果位置不同,果实接收光照的时间和长短也不一样,品质也不同。一般在葡萄生产中主要有篱架式、棚架式和柱式架三类。而篱架式主要类型有单篱架、双篱架和宽顶篱架。篱架式的架面与地面呈垂直或倾斜,葡萄枝叶即分布在架面上。
目前葡萄的喷药作业大多采用人工作业的背负式,且用药量大,劳动强度大但效率低。
发明内容
本发明的目的在于提供一种角度可调的葡萄园专用喷药装置,以解决上述背景技术中提出的问题。
为实现上述目的,本发明提供如下技术方案:
一种角度可调的葡萄园专用喷药装置,包括车体和固定在车体上的药箱,所述车体的底部安装有多个行走轮,其中一组行走轮之间的行走轮轴上固定安装有主动带轮,主动带轮通过同步带与从动带轮连接,从动带轮固定在搅拌轴的轴端,搅拌轴安装在药箱内且其轴端伸出药箱的外部,搅拌轴的外部固定安装有多个搅拌叶片,药箱上设有用于加药的加药口;所述车体上通过安装耳座安装有驱动箱,驱动箱与安装耳座通过销轴铰接安装,且驱动箱的底部与车体之间预留有间隙,驱动箱内设有喷药杆,喷药杆的端部固定安装有用于喷药的喷头,喷头与出药管连接,出药管缠绕在喷药杆上并与药箱连接,出药管上安装有水泵,水泵由变频电机驱动,所述药箱与驱动箱之间还设有电缸,电缸的两端分别铰接安装在药箱与驱动箱上,所述喷药杆与驱动箱滑动配合,驱动箱内安装有正反转电机,正反转电机的输出轴上安装有驱动齿轮,驱动齿轮与固定在喷药杆上的直齿条相互啮合,所述驱动箱的一侧位置还固定有导向套,导向套与喷药杆滑动配合;所述车体上还安装有用于为变频电机、正反转电机和电缸供电的蓄电池。
作为本发明进一步的方案:所述喷药杆的头端固定有与其垂直的固定杆,固定杆与喷药杆形成T字形结构,固定杆的端部固定有多个喷头。
作为本发明再进一步的方案:所述固定杆上还固定有防风罩,将多个喷头笼罩在内部。
作为本发明再进一步的方案:所述喷药杆上等间距的固定有多个导向环,出药管穿过多个导向环后与喷头连接。
作为本发明再进一步的方案:所述药箱的底部还连接有排水管,排水管上安装有阀门。
作为本发明再进一步的方案:所述药箱上还设有透明的液位观察窗,液位观察窗上印有刻度。
作为本发明再进一步的方案:所述车体的一侧设有把手;或所述车体上搭载有动力装置。
与现有技术相比,本发明的有益效果是:在车体行走时,主动带轮同步转动,通过同步带的传动作用,搅拌轴转动,带动搅拌叶片的转动,对药箱内的药液进行搅拌,防止药物沉积造成喷药效果的下降;同时喷药角度和喷药距离能够灵活的进行调整,便于提升喷药效果,整体结构简单,操作方便,可以广泛的使用在农业、林业中的喷药作业中。
附图说明

图1为一种角度可调的葡萄园专用喷药装置的结构示意图。

图2为一种角度可调的葡萄园专用喷药装置中药箱的结构示意图。

图3为一种角度可调的葡萄园专用喷药装置中驱动齿轮的传动示意图。
图中:1-车体、2-主动带轮、3-行走轮、4-行走轮轴、5-同步带、6-药箱、7-从动带轮、8-喷药杆、9-喷头、10-驱动箱、11-驱动齿轮、12-直齿条、13-导向套、14-导向环、15-安装耳座、16-电缸、17-水泵、18-出药管、19-蓄电池、20-正反转电机、21-加药口、22-变频电机、23-搅拌轴、24-搅拌叶片、25-排水管。
具体实施方式
下面将结合本发明实施例中的附图,对本发明实施例中的技术方案进行清楚、完整地描述,显然,所描述的实施例仅仅是本发明一部分实施例,而不是全部的实施例。基于本发明中的实施例,本领域普通技术人员在没有做出创造性劳动前提下所获得的所有其他实施例,都属于本发明保护的范围。
请参阅图1~3,本发明实施例中,一种角度可调的葡萄园专用喷药装置,包括车体1和固定在车体1上的药箱6,所述车体1的底部安装有多个行走轮3,其中一组行走轮3之间的行走轮轴4上固定安装有主动带轮2,主动带轮2通过同步带5与从动带轮7连接,从动带轮7固定在搅拌轴23的轴端,搅拌轴23安装在药箱6内且其轴端伸出药箱6的外部,搅拌轴23的外部固定安装有多个搅拌叶片24,在车体1行走时,主动带轮2同步转动,通过同步带5的传动作用,搅拌轴23转动,带动搅拌叶片24的转动,对药箱6内的药液进行搅拌,防止药物沉积造成喷药效果的下降,药箱6上设有用于加药的加药口21;所述车体1上通过安装耳座15安装有驱动箱10,驱动箱10与安装耳座15通过销轴铰接安装,且驱动箱10的底部与车体1之间预留有间隙,驱动箱10内设有喷药杆8,喷药杆8的端部固定安装有用于喷药的喷头9,喷头9与出药管18连接,出药管18缠绕在喷药杆8上并与药箱6连接,出药管18上安装有水泵17,水泵17由变频电机22驱动,工作时,变频电机22驱动水泵17作业,将药箱6内的药液泵入到出药管18内,并从喷头9喷出,药液最终落在葡萄植株上,所述药箱6与驱动箱10之间还设有电缸16,电缸16的两端分别铰接安装在药箱6与驱动箱10上,在电缸16伸长时,由于药箱6是固定的,而驱动箱10是活动安装的,此时驱动箱10的角度发生转动,带动喷药杆8和喷头9的角度发生变化,实现喷药角度的调节;所述车体1上还安装有用于为变频电机22和电缸16供电的蓄电池19。
所述喷药杆8与驱动箱10滑动配合,驱动箱10内安装有正反转电机20,正反转电机20的输出轴上安装有驱动齿轮11,驱动齿轮11与固定在喷药杆8上的直齿条12相互啮合,在驱动齿轮11转动时,能实现喷药杆8的伸出或缩短,实现喷药杆8长度的变化。
所述驱动箱10的一侧位置还固定有导向套13,导向套13与喷药杆8滑动配合,便于对喷药杆8的运动进行导向,同时,导向套13的设计使得喷药杆8与驱动箱10的连接更加可靠,增强了整体强度。
所述喷药杆8上等间距的固定有多个导向环14,出药管18穿过多个导向环14后与喷头9连接。
所述药箱6的底部还连接有排水管25,排水管25上安装有阀门,当需要将药箱6内药液排空或将对药箱6的清洗水排空时,打开排水管25上的阀门即可,非常方便。
所述药箱6上还设有透明的液位观察窗,液位观察窗上印有刻度,便于直接的观察到药箱6内药液的含量。
所述车体1的一侧设有把手,便于推拉;或所述车体1上搭载有动力装置,节约劳动力。
所述喷药杆8的头端固定有与其垂直的固定杆,固定杆与喷药杆8形成T字形结构,固定杆的端部固定有多个喷头9,提高作业效率。
所述固定杆上还固定有防风罩,将多个喷头9笼罩在内部,减少风力对喷药效果造成的影响。
本发明的工作原理是:工作时,将药液加入到药箱6,在车体1行走时,主动带轮2同步转动,通过同步带5的传动作用,搅拌轴23转动,带动搅拌叶片24的转动,对药箱6内的药液进行搅拌,防止药物沉积造成喷药效果的下降,喷液时,变频电机22驱动水泵17作业,将药箱6内的药液泵入到出药管18内,并从喷头9喷出,药液最终喷洒在葡萄植株上,若需要对喷洒角度进行调整,则启动电缸16,由于药箱6是固定的,而驱动箱10是活动安装的,此时驱动箱10的角度发生转动,带动喷药杆8和喷头9的角度发生变化,实现喷药角度的调节,可以适应不同高度的葡萄植株;若需要对更远处的葡萄植株进行喷药,则可以启动正反转电机20,正反转电机20带动驱动齿轮11转动,能实现喷药杆8的伸出或缩短,实现喷药杆8长度的变化。
对于本领域技术人员而言,显然本发明不限于上述示范性实施例的细节,而且在不背离本发明的精神或基本特征的情况下,能够以其他的具体形式实现本发明。因此,无论从哪一点来看,均应将实施例看作是示范性的,而且是非限制性的,本发明的范围由所附权利要求而不是上述说明限定,因此旨在将落在权利要求的等同要件的含义和范围内的所有变化囊括在本发明内。不应将权利要求中的任何附图标记视为限制所涉及的权利要求。
此外,应当理解,虽然本说明书按照实施方式加以描述,但并非每个实施方式仅包含一个独立的技术方案,说明书的这种叙述方式仅仅是为清楚起见,本领域技术人员应当将说明书作为一个整体,各实施例中的技术方案也可以经适当组合,形成本领域技术人员可以理解的其他实施方式。
