应用案例
您当前的位置:产品应用
一种多倍行程升降的吸盘机械手
一种多倍行程升降的吸盘机械手
【申请公布号:CN107915046A;申请权利人:安徽鲲鹏装备模具制造有限公司;发明设计人: 段宗军; 陈安伟;】
摘要:
本发明公开了一种多倍行程升降的吸盘机械手,包括平移架板、第一升降架、第二升降架、第三升降架、第一同步带机构、第二同步带机构以及吸盘机构。平移架板安装在水平横梁上,并能够沿水平横梁水平移动。第一升降架安装在平移架板上,并能够相对于平移架板升降。第二升降架通过第一同步带机构安装在第一升降架上,使得第一升降架升降时第二升降架能相对于第一升降架同步升降。第三升降架通过第二同步带机构安装在第二升降架上,使得第二升降架升降时第三升降架能相对于第二升降架同步升降。吸盘机构安装在第三升降架的底端。第一升降架连接有升降驱动机构。
主权项:
一种多倍行程升降的吸盘机械手,其特征在于,包括平移架板(19)、第一升降架(11)、第二升降架(12)、第三升降架(13)、第一同步带机构、第二同步带机构以及吸盘机构;平移架板(19)安装在水平横梁(191)上,并能够沿水平横梁(191)水平移动;第一升降架(11)安装在平移架板(19)上,并能够相对于平移架板(19)升降;第二升降架(12)安装在第一升降架(11)上,并能够相对于第一升降架(11)升降;第三升降架(13)安装在第二升降架(12)上,并能够相对于第二升降架(12)升降;所述第一同步带机构包括安装在第一升降架(11)上的第一上同步带轮(1421)和第一下同步带轮(1422);第一上同步带轮(1421)和第一下同步带轮(1422)分别设于第一升降架(11)的上下两端;第一上同步带轮(1421)和第一下同步带轮(1422)上绕设有第一同步带(143);绕设于第一上同步带轮(1421)和第一下同步带轮(1422)上的第一同步带(143)的一侧固定在第一固定件(144)上,另一侧通过第一连接块(145)与第二升降架(12)相连;第一固定件(144)固定在平移架板(19)上;所述第二同步带机构包括安装在第二升降架(12)上的第二上同步带轮(1521)和第二下同步带轮(1522);第二上同步带轮(1521)和第二下同步带轮(1522)分别设于第二升降架(12)的上下两端;第二上同步带轮(1521)和第二下同步带轮(1522)上绕设有第二同步带(153);绕设于第二上同步带轮(1521)和第二下同步带轮(1522)上的第二同步带(153)的一侧固定在第二固定件(154)上,另一侧通过第二连接块(155)与第三升降架(13)相连;第二固定件(154)固定在第一升降架(11)上;吸盘机构安装在第三升降架(13)的底端;第一升降架(11)连接有升降驱动机构。
要求:
1.一种多倍行程升降的吸盘机械手,其特征在于,包括平移架板(19)、第一升降架(11)、第二升降架(12)、第三升降架(13)、第一同步带机构、第二同步带机构以及吸盘机构;平移架板(19)安装在水平横梁(191)上,并能够沿水平横梁(191)水平移动;第一升降架(11)安装在平移架板(19)上,并能够相对于平移架板(19)升降;第二升降架(12)安装在第一升降架(11)上,并能够相对于第一升降架(11)升降;第三升降架(13)安装在第二升降架(12)上,并能够相对于第二升降架(12)升降;所述第一同步带机构包括安装在第一升降架(11)上的第一上同步带轮(1421)和第一下同步带轮(1422);第一上同步带轮(1421)和第一下同步带轮(1422)分别设于第一升降架(11)的上下两端;第一上同步带轮(1421)和第一下同步带轮(1422)上绕设有第一同步带(143);绕设于第一上同步带轮(1421)和第一下同步带轮(1422)上的第一同步带(143)的一侧固定在第一固定件(144)上,另一侧通过第一连接块(145)与第二升降架(12)相连;第一固定件(144)固定在平移架板(19)上;所述第二同步带机构包括安装在第二升降架(12)上的第二上同步带轮(1521)和第二下同步带轮(1522);第二上同步带轮(1521)和第二下同步带轮(1522)分别设于第二升降架(12)的上下两端;第二上同步带轮(1521)和第二下同步带轮(1522)上绕设有第二同步带(153);绕设于第二上同步带轮(1521)和第二下同步带轮(1522)上的第二同步带(153)的一侧固定在第二固定件(154)上,另一侧通过第二连接块(155)与第三升降架(13)相连;第二固定件(154)固定在第一升降架(11)上;吸盘机构安装在第三升降架(13)的底端;第一升降架(11)连接有升降驱动机构。
2.如权利要求1所述的多倍行程升降的吸盘机械手,其特征在于,所述第一同步带机构有两个;两个第一同步带机构分别设于第二升降架(12)的两侧。
3.如权利要求2所述的多倍行程升降的吸盘机械手,其特征在于,还包括两个轨道架(14);两个第一同步带机构分别安装在两个轨道架(14)上;轨道架(14)的内侧安装有竖直的第二升降滑轨(141);第二升降架(12)通过滑块夹持于两个轨道架(14)的第二升降滑轨(141)之间。
4.如权利要求1所述的多倍行程升降的吸盘机械手,其特征在于,第二升降架(12)的正面设置有竖直的第三滑轨(151);第三滑轨(151)由两根滑轨所组成;第三升降架(13)通过滑块安装在第三滑轨(151)上;第二同步带机构位于第三滑轨(151)的两根滑轨之间;绕设于第二上同步带轮(1521)和第二下同步带轮(1522)上的第二同步带(153)的两侧分别位于第二升降架(12)的正面和背面;第二固定件(154)位于第二升降架(12)的背面;第二连接块(155)位于第二升降架(12)的正面,并位于第三升降架(13)的背面。
5.如权利要求1所述的多倍行程升降的吸盘机械手,其特征在于,所述升降驱动机构包括升降电机(168)、传动同步带轮(161)、拖拽同步带(163);拖拽同步带(163)的上下两端分别通过上拖拽固定件(1621)和下拖拽固定件(1622)与第一升降架(11)相固定;拖拽同步带(163)的中间绕过两个张紧轮(164)后绕在传动同步带轮(161)上,使得拖拽同步带(163)呈Ω结构;传动同步带轮(161)和升降电机(168)相连。
一种多倍行程升降的吸盘机械手
技术领域
本发明涉及吸盘机械手,特别涉及吸盘机械手的升降机构。
背景技术
通常吸盘机械手的升降行程仅用于使得吸盘能够贴近板料,从而使得真空吸盘能够吸附板料,因此吸盘机械手的升降行程通常非常短小,通常通过气缸即可实现这种吸盘机械手的升降。在某些板料加工线中,板料需要通过吸盘机械手自上而下放入工位上的加工设备中。而加工设备自身高度较高,再机上板料自身加工后所形成的形状,导致吸盘机械手上下升降的行程需要很大。如果采用这种普通的气缸升降的吸盘机械手的设计方式,要求气缸自身高度很高。一方面,这要求吸盘机械手的平移轨道架设很高,另一方面,一个竖直设立的高度很高的气缸在平移轨道上进行平移需要很高的上下空间,对板料加工线来说是一个很大的妨碍。为此,吸盘机械手的升降最好能够设计成伸缩式升降,由此避免平移轨道架设过高,吸盘机械手需要很高的上下空间的问题。专利文献CN 206306138U公开了一种基于行程倍增平移机构的吸盘机械手。其中行程倍增平移机构是一个可伸缩的平移机构,因此可以将这种行程倍增平移机构设计成竖直方式从而成为行程倍增的升降机构,实现这种吸盘机械手的伸缩式升降。但是,该行程倍增平移机构需要两根齿条和齿轮组成齿轮机构存在以下三个问题:第一是两根相对设置并与中间的齿轮相啮合的齿条所组成的齿轮行程倍增机构尺寸较大,在吸盘机械手中而无法适用。第二是装配精度要求较高,两根相对设置的齿条要求严格平行,稍有误差就会使中间的齿轮卡在两根齿条之间。第三是,该机构是双倍行程机构,伸缩倍率不足,用于吸盘机械手中,吸盘机械手整体高度依旧很高。
发明内容
本发明所要解决的问题:设计一种可伸缩式升降的吸盘机械手,使得该伸缩式升降机构能够以多倍行程的方式进行升降,从而降低吸盘机械手的整体高度。
为解决上述问题,本发明采用的方案如下:
一种多倍行程升降的吸盘机械手,包括平移架板、第一升降架、第二升降架、第三升降架、第一同步带机构、第二同步带机构以及吸盘机构;平移架板安装在水平横梁上,并能够沿水平横梁水平移动;第一升降架安装在平移架板上,并能够相对于平移架板升降;第二升降架安装在第一升降架上,并能够相对于第一升降架升降;第三升降架安装在第二升降架上,并能够相对于第二升降架升降;所述第一同步带机构包括安装在第一升降架上的第一上同步带轮和第一下同步带轮;第一上同步带轮和第一下同步带轮分别设于第一升降架的上下两端;第一上同步带轮和第一下同步带轮上绕设有第一同步带;绕设于第一上同步带轮和第一下同步带轮上的第一同步带的一侧固定在第一固定件上,另一侧通过第一连接块与第二升降架相连;第一固定件固定在平移架板上;所述第二同步带机构包括安装在第二升降架上的第二上同步带轮和第二下同步带轮;第二上同步带轮和第二下同步带轮分别设于第二升降架的上下两端;第二上同步带轮和第二下同步带轮上绕设有第二同步带;绕设于第二上同步带轮和第二下同步带轮上的第二同步带的一侧固定在第二固定件上,另一侧通过第二连接块与第三升降架相连;第二固定件固定在第一升降架上;吸盘机构安装在第三升降架的底端;第一升降架连接有升降驱动机构。
进一步,所述第一同步带机构有两个;两个第一同步带机构分别设于第二升降架的两侧。
进一步,还包括两个轨道架;两个第一同步带机构分别安装在两个轨道架上;轨道架的内侧安装有竖直的第二升降滑轨;第二升降架通过滑块夹持于两个轨道架的第二升降滑轨之间。
进一步,第二升降架的正面设置有竖直的第三滑轨;第三滑轨由两根滑轨所组成;第三升降架通过滑块安装在第三滑轨上;第二同步带机构位于第三滑轨的两根滑轨之间;绕设于第二上同步带轮和第二下同步带轮上的第二同步带的两侧分别位于第二升降架的正面和背面;第二固定件位于第二升降架的背面;第二连接块位于第二升降架的正面,并位于第三升降架的背面。
进一步,所述升降驱动机构包括升降电机、传动同步带轮、拖拽同步带;拖拽同步带的上下两端分别通过上拖拽固定件和下拖拽固定件与第一升降架相固定;拖拽同步带的中间绕过两个张紧轮后绕在传动同步带轮上,使得拖拽同步带呈Ω结构;传动同步带轮和升降电机相连。
本发明的技术效果如下:本发明结构设计精巧,第二升降架能够双倍于第一升降架升降,第三升降架能够三倍于第一升降架升降,从而实现伸缩式升降,使得吸盘机械手的整体高度为升降架伸长后的三分之一高度。
附图说明

图1是本发明实施例实物收缩时的整体结构立体图。

图2是本发明实施例实物伸长时的整体结构示意图。

图3是本发明实施例实物伸缩升降机构部分的正面视图。

图4是本发明实施例实物伸缩升降机构部分的剖面视图。

图5是本发明实施例实物伸缩升降机构部分的背面视图。

图6是本发明实施例伸缩升降机构部分的简易结构示意图。
具体实施方式
下面结合附图对本发明做进一步详细说明。
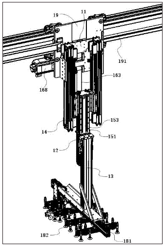
如图1、图2所示,一种多倍行程升降的吸盘机械手,包括平移架板19、伸缩升降机构和吸盘机构。平移架板19安装在水平横梁191上,并能够沿水平横梁191水平移动。吸盘机构通过伸缩升降机构安装在平移架板19上,包括吸盘架181和安装在吸盘架181上的真空吸盘182。伸缩升降机构,如图3、图4、图5、图6所示,包括第一升降架11、第二升降架12、第三升降架13、第一同步带机构、第二同步带机构以及升降驱动机构。吸盘机构安装在第三升降架13的底端。
第一升降架11安装在平移架板19上,并能够相对于平移架板19升降。具体来说,第一升降架11的背面设置有竖直的第一升降滑轨111,平移架板19的正面设置有滑块,第一升降架11通过背面的第一升降滑轨111架设在平移架板19的滑块上,使得第一升降架11能够相对于平移架板19进行升降。第一升降架11连接升降驱动机构。升降驱动机构用于驱动第一升降架11升降,包括升降电机168、传动同步带轮161、拖拽同步带163。拖拽同步带163的上下两端分别通过上拖拽固定件1621和下拖拽固定件1622与第一升降架11相固定。上拖拽固定件1621和下拖拽固定件1622分别位于第一升降架11上下端。拖拽同步带163的中间绕过两个张紧轮164后绕在传动同步带轮161上,使得拖拽同步带163呈Ω结构。传动同步带轮161和升降电机168相连。传动同步带轮161和升降电机168通过轴承座169安装在平移架板19的背面。张紧轮164和传动同步带轮161设于传动箱1611内。由此,当升降电机168能够通过拖拽同步带163拖拽着第一升降架11沿第一升降滑轨111升降。
第二升降架12安装在第一升降架11上,并能够相对于第一升降架11升降。具体来说,第一升降架11的正面两侧安装有两个竖直的轨道架14。两个轨道架14的内侧安装有竖直的第二升降滑轨141。第二升降架12通过第二滑块121夹持于两个轨道架14的第二升降滑轨141之间,使得第二升降架12能够顺着第二升降滑轨141升降。两个轨道架14之内分别设有第一同步带机构。第一同步带机构包括安装在第一升降架11上,并位于轨道架14之内的第一上同步带轮1421和第一下同步带轮1422。第一上同步带轮1421和第一下同步带轮1422分别设于第一升降架11的上下两端,也即,分别设于轨道架14的上下两端。第一上同步带轮1421和第一下同步带轮1422上绕设有第一同步带143。绕设于第一上同步带轮1421和第一下同步带轮1422上的第一同步带143的外侧固定在第一固定件144上,内侧通过第一连接块145与第二升降架12相连。第一固定件144固定在平移架板19上。由此,当升降驱动机构驱动第一升降架11升降时,由于第一固定件144位置固定,使得第一上同步带轮1421和第一下同步带轮1422相对于第一固定件144移动。第一固定件144与第一上同步带轮1421的距离加上第一上同步带轮1421与第一连接块145的距离之和总是保持不变。第一上同步带轮1421相对于第一固定件144移动也必定意味着第一连接块145相对于第一上同步带轮1421移动。也就是说,当第一升降架11升降时,左右两侧的第一同步带143拖拽着第一连接块145相对于第一升降架11升降,进而拖拽着第二升降架12相对于第一升降架11升降。第二升降架12相对于第一升降架11的升降高度总是与第一升降架11相对于安装架板19的升降高度相同。这也意味着,第二升降架12相对于安装架板19的升降高度总是第一升降架11相对于安装架板19的升降高度的两倍。
第三升降架13安装在第二升降架12上,并能够相对于第二升降架12升降。第二升降架12的正面设置有竖直的第三滑轨151。第三升降架13通过第二滑块131安装在第三滑轨151上,使得第三升降架13能够顺河第三滑轨151升降。第三滑轨151由两根滑轨所组成。第二同步带机构位于第三滑轨151的两根滑轨之间,包括安装在第二升降架12上的第二上同步带轮1521和第二下同步带轮1522。第二上同步带轮1521和第二下同步带轮1522分别设于第二升降架12的上下两端。第二上同步带轮1521和第二下同步带轮1522上绕设有第二同步带153。第二同步带153跨第二升降架12设置,也就是,第二同步带153的一侧位于第二升降架12的正面,另一侧位于第二升降架12的背面。位于第二升降架12背面的一侧,第二同步带153固定在第二固定件154上。位于第二升降架12正面的一侧,通过第二连接块155连接第三升降架13。第二连接块155位于第三升降架13的背面。第二固定件154固定在第一升降架11上。由此,当第一同步带143拖拽着第二升降架12升降时,由于第二固定件154位置与第一升降架11固定,使得第二上同步带轮1521和第二下同步带轮1522相对于第二固定件154移动。第二固定件154与第二上同步带轮1521的距离加上第二上同步带轮1521与第二连接块155的距离之和总是保持不变。第二上同步带轮1521相对于第二固定件154移动也必定意味着第二连接块155相对于第二上同步带轮1521移动。也就是说,当第二升降架12升降时,第二同步带153拖拽着第二连接块155相对于第二升降架12升降,进而拖拽着第三升降架13相对于第二升降架12升降。第三升降架13相对于第二升降架12的升降高度总是与第二升降架12相对于第一升降架11的升降高度相同。这也意味着,第三升降架13相对于第一升降架11的升降高度总是第二升降架12相对于第一升降架11的升降高度的两倍,也意味着,第三升降架13相对于安装架板19的升降高度总是第一升降架11相对于安装架板19的升降高度的三倍。
【申请公布号:CN107915046A;申请权利人:安徽鲲鹏装备模具制造有限公司;发明设计人: 段宗军; 陈安伟;】
摘要:
本发明公开了一种多倍行程升降的吸盘机械手,包括平移架板、第一升降架、第二升降架、第三升降架、第一同步带机构、第二同步带机构以及吸盘机构。平移架板安装在水平横梁上,并能够沿水平横梁水平移动。第一升降架安装在平移架板上,并能够相对于平移架板升降。第二升降架通过第一同步带机构安装在第一升降架上,使得第一升降架升降时第二升降架能相对于第一升降架同步升降。第三升降架通过第二同步带机构安装在第二升降架上,使得第二升降架升降时第三升降架能相对于第二升降架同步升降。吸盘机构安装在第三升降架的底端。第一升降架连接有升降驱动机构。
主权项:
一种多倍行程升降的吸盘机械手,其特征在于,包括平移架板(19)、第一升降架(11)、第二升降架(12)、第三升降架(13)、第一同步带机构、第二同步带机构以及吸盘机构;平移架板(19)安装在水平横梁(191)上,并能够沿水平横梁(191)水平移动;第一升降架(11)安装在平移架板(19)上,并能够相对于平移架板(19)升降;第二升降架(12)安装在第一升降架(11)上,并能够相对于第一升降架(11)升降;第三升降架(13)安装在第二升降架(12)上,并能够相对于第二升降架(12)升降;所述第一同步带机构包括安装在第一升降架(11)上的第一上同步带轮(1421)和第一下同步带轮(1422);第一上同步带轮(1421)和第一下同步带轮(1422)分别设于第一升降架(11)的上下两端;第一上同步带轮(1421)和第一下同步带轮(1422)上绕设有第一同步带(143);绕设于第一上同步带轮(1421)和第一下同步带轮(1422)上的第一同步带(143)的一侧固定在第一固定件(144)上,另一侧通过第一连接块(145)与第二升降架(12)相连;第一固定件(144)固定在平移架板(19)上;所述第二同步带机构包括安装在第二升降架(12)上的第二上同步带轮(1521)和第二下同步带轮(1522);第二上同步带轮(1521)和第二下同步带轮(1522)分别设于第二升降架(12)的上下两端;第二上同步带轮(1521)和第二下同步带轮(1522)上绕设有第二同步带(153);绕设于第二上同步带轮(1521)和第二下同步带轮(1522)上的第二同步带(153)的一侧固定在第二固定件(154)上,另一侧通过第二连接块(155)与第三升降架(13)相连;第二固定件(154)固定在第一升降架(11)上;吸盘机构安装在第三升降架(13)的底端;第一升降架(11)连接有升降驱动机构。
要求:
1.一种多倍行程升降的吸盘机械手,其特征在于,包括平移架板(19)、第一升降架(11)、第二升降架(12)、第三升降架(13)、第一同步带机构、第二同步带机构以及吸盘机构;平移架板(19)安装在水平横梁(191)上,并能够沿水平横梁(191)水平移动;第一升降架(11)安装在平移架板(19)上,并能够相对于平移架板(19)升降;第二升降架(12)安装在第一升降架(11)上,并能够相对于第一升降架(11)升降;第三升降架(13)安装在第二升降架(12)上,并能够相对于第二升降架(12)升降;所述第一同步带机构包括安装在第一升降架(11)上的第一上同步带轮(1421)和第一下同步带轮(1422);第一上同步带轮(1421)和第一下同步带轮(1422)分别设于第一升降架(11)的上下两端;第一上同步带轮(1421)和第一下同步带轮(1422)上绕设有第一同步带(143);绕设于第一上同步带轮(1421)和第一下同步带轮(1422)上的第一同步带(143)的一侧固定在第一固定件(144)上,另一侧通过第一连接块(145)与第二升降架(12)相连;第一固定件(144)固定在平移架板(19)上;所述第二同步带机构包括安装在第二升降架(12)上的第二上同步带轮(1521)和第二下同步带轮(1522);第二上同步带轮(1521)和第二下同步带轮(1522)分别设于第二升降架(12)的上下两端;第二上同步带轮(1521)和第二下同步带轮(1522)上绕设有第二同步带(153);绕设于第二上同步带轮(1521)和第二下同步带轮(1522)上的第二同步带(153)的一侧固定在第二固定件(154)上,另一侧通过第二连接块(155)与第三升降架(13)相连;第二固定件(154)固定在第一升降架(11)上;吸盘机构安装在第三升降架(13)的底端;第一升降架(11)连接有升降驱动机构。
2.如权利要求1所述的多倍行程升降的吸盘机械手,其特征在于,所述第一同步带机构有两个;两个第一同步带机构分别设于第二升降架(12)的两侧。
3.如权利要求2所述的多倍行程升降的吸盘机械手,其特征在于,还包括两个轨道架(14);两个第一同步带机构分别安装在两个轨道架(14)上;轨道架(14)的内侧安装有竖直的第二升降滑轨(141);第二升降架(12)通过滑块夹持于两个轨道架(14)的第二升降滑轨(141)之间。
4.如权利要求1所述的多倍行程升降的吸盘机械手,其特征在于,第二升降架(12)的正面设置有竖直的第三滑轨(151);第三滑轨(151)由两根滑轨所组成;第三升降架(13)通过滑块安装在第三滑轨(151)上;第二同步带机构位于第三滑轨(151)的两根滑轨之间;绕设于第二上同步带轮(1521)和第二下同步带轮(1522)上的第二同步带(153)的两侧分别位于第二升降架(12)的正面和背面;第二固定件(154)位于第二升降架(12)的背面;第二连接块(155)位于第二升降架(12)的正面,并位于第三升降架(13)的背面。
5.如权利要求1所述的多倍行程升降的吸盘机械手,其特征在于,所述升降驱动机构包括升降电机(168)、传动同步带轮(161)、拖拽同步带(163);拖拽同步带(163)的上下两端分别通过上拖拽固定件(1621)和下拖拽固定件(1622)与第一升降架(11)相固定;拖拽同步带(163)的中间绕过两个张紧轮(164)后绕在传动同步带轮(161)上,使得拖拽同步带(163)呈Ω结构;传动同步带轮(161)和升降电机(168)相连。
一种多倍行程升降的吸盘机械手
技术领域
本发明涉及吸盘机械手,特别涉及吸盘机械手的升降机构。
背景技术
通常吸盘机械手的升降行程仅用于使得吸盘能够贴近板料,从而使得真空吸盘能够吸附板料,因此吸盘机械手的升降行程通常非常短小,通常通过气缸即可实现这种吸盘机械手的升降。在某些板料加工线中,板料需要通过吸盘机械手自上而下放入工位上的加工设备中。而加工设备自身高度较高,再机上板料自身加工后所形成的形状,导致吸盘机械手上下升降的行程需要很大。如果采用这种普通的气缸升降的吸盘机械手的设计方式,要求气缸自身高度很高。一方面,这要求吸盘机械手的平移轨道架设很高,另一方面,一个竖直设立的高度很高的气缸在平移轨道上进行平移需要很高的上下空间,对板料加工线来说是一个很大的妨碍。为此,吸盘机械手的升降最好能够设计成伸缩式升降,由此避免平移轨道架设过高,吸盘机械手需要很高的上下空间的问题。专利文献CN 206306138U公开了一种基于行程倍增平移机构的吸盘机械手。其中行程倍增平移机构是一个可伸缩的平移机构,因此可以将这种行程倍增平移机构设计成竖直方式从而成为行程倍增的升降机构,实现这种吸盘机械手的伸缩式升降。但是,该行程倍增平移机构需要两根齿条和齿轮组成齿轮机构存在以下三个问题:第一是两根相对设置并与中间的齿轮相啮合的齿条所组成的齿轮行程倍增机构尺寸较大,在吸盘机械手中而无法适用。第二是装配精度要求较高,两根相对设置的齿条要求严格平行,稍有误差就会使中间的齿轮卡在两根齿条之间。第三是,该机构是双倍行程机构,伸缩倍率不足,用于吸盘机械手中,吸盘机械手整体高度依旧很高。
发明内容
本发明所要解决的问题:设计一种可伸缩式升降的吸盘机械手,使得该伸缩式升降机构能够以多倍行程的方式进行升降,从而降低吸盘机械手的整体高度。
为解决上述问题,本发明采用的方案如下:
一种多倍行程升降的吸盘机械手,包括平移架板、第一升降架、第二升降架、第三升降架、第一同步带机构、第二同步带机构以及吸盘机构;平移架板安装在水平横梁上,并能够沿水平横梁水平移动;第一升降架安装在平移架板上,并能够相对于平移架板升降;第二升降架安装在第一升降架上,并能够相对于第一升降架升降;第三升降架安装在第二升降架上,并能够相对于第二升降架升降;所述第一同步带机构包括安装在第一升降架上的第一上同步带轮和第一下同步带轮;第一上同步带轮和第一下同步带轮分别设于第一升降架的上下两端;第一上同步带轮和第一下同步带轮上绕设有第一同步带;绕设于第一上同步带轮和第一下同步带轮上的第一同步带的一侧固定在第一固定件上,另一侧通过第一连接块与第二升降架相连;第一固定件固定在平移架板上;所述第二同步带机构包括安装在第二升降架上的第二上同步带轮和第二下同步带轮;第二上同步带轮和第二下同步带轮分别设于第二升降架的上下两端;第二上同步带轮和第二下同步带轮上绕设有第二同步带;绕设于第二上同步带轮和第二下同步带轮上的第二同步带的一侧固定在第二固定件上,另一侧通过第二连接块与第三升降架相连;第二固定件固定在第一升降架上;吸盘机构安装在第三升降架的底端;第一升降架连接有升降驱动机构。
进一步,所述第一同步带机构有两个;两个第一同步带机构分别设于第二升降架的两侧。
进一步,还包括两个轨道架;两个第一同步带机构分别安装在两个轨道架上;轨道架的内侧安装有竖直的第二升降滑轨;第二升降架通过滑块夹持于两个轨道架的第二升降滑轨之间。
进一步,第二升降架的正面设置有竖直的第三滑轨;第三滑轨由两根滑轨所组成;第三升降架通过滑块安装在第三滑轨上;第二同步带机构位于第三滑轨的两根滑轨之间;绕设于第二上同步带轮和第二下同步带轮上的第二同步带的两侧分别位于第二升降架的正面和背面;第二固定件位于第二升降架的背面;第二连接块位于第二升降架的正面,并位于第三升降架的背面。
进一步,所述升降驱动机构包括升降电机、传动同步带轮、拖拽同步带;拖拽同步带的上下两端分别通过上拖拽固定件和下拖拽固定件与第一升降架相固定;拖拽同步带的中间绕过两个张紧轮后绕在传动同步带轮上,使得拖拽同步带呈Ω结构;传动同步带轮和升降电机相连。
本发明的技术效果如下:本发明结构设计精巧,第二升降架能够双倍于第一升降架升降,第三升降架能够三倍于第一升降架升降,从而实现伸缩式升降,使得吸盘机械手的整体高度为升降架伸长后的三分之一高度。
附图说明

图1是本发明实施例实物收缩时的整体结构立体图。

图2是本发明实施例实物伸长时的整体结构示意图。

图3是本发明实施例实物伸缩升降机构部分的正面视图。

图4是本发明实施例实物伸缩升降机构部分的剖面视图。

图5是本发明实施例实物伸缩升降机构部分的背面视图。

图6是本发明实施例伸缩升降机构部分的简易结构示意图。
具体实施方式
下面结合附图对本发明做进一步详细说明。
如图1、图2所示,一种多倍行程升降的吸盘机械手,包括平移架板19、伸缩升降机构和吸盘机构。平移架板19安装在水平横梁191上,并能够沿水平横梁191水平移动。吸盘机构通过伸缩升降机构安装在平移架板19上,包括吸盘架181和安装在吸盘架181上的真空吸盘182。伸缩升降机构,如图3、图4、图5、图6所示,包括第一升降架11、第二升降架12、第三升降架13、第一同步带机构、第二同步带机构以及升降驱动机构。吸盘机构安装在第三升降架13的底端。
第一升降架11安装在平移架板19上,并能够相对于平移架板19升降。具体来说,第一升降架11的背面设置有竖直的第一升降滑轨111,平移架板19的正面设置有滑块,第一升降架11通过背面的第一升降滑轨111架设在平移架板19的滑块上,使得第一升降架11能够相对于平移架板19进行升降。第一升降架11连接升降驱动机构。升降驱动机构用于驱动第一升降架11升降,包括升降电机168、传动同步带轮161、拖拽同步带163。拖拽同步带163的上下两端分别通过上拖拽固定件1621和下拖拽固定件1622与第一升降架11相固定。上拖拽固定件1621和下拖拽固定件1622分别位于第一升降架11上下端。拖拽同步带163的中间绕过两个张紧轮164后绕在传动同步带轮161上,使得拖拽同步带163呈Ω结构。传动同步带轮161和升降电机168相连。传动同步带轮161和升降电机168通过轴承座169安装在平移架板19的背面。张紧轮164和传动同步带轮161设于传动箱1611内。由此,当升降电机168能够通过拖拽同步带163拖拽着第一升降架11沿第一升降滑轨111升降。
第二升降架12安装在第一升降架11上,并能够相对于第一升降架11升降。具体来说,第一升降架11的正面两侧安装有两个竖直的轨道架14。两个轨道架14的内侧安装有竖直的第二升降滑轨141。第二升降架12通过第二滑块121夹持于两个轨道架14的第二升降滑轨141之间,使得第二升降架12能够顺着第二升降滑轨141升降。两个轨道架14之内分别设有第一同步带机构。第一同步带机构包括安装在第一升降架11上,并位于轨道架14之内的第一上同步带轮1421和第一下同步带轮1422。第一上同步带轮1421和第一下同步带轮1422分别设于第一升降架11的上下两端,也即,分别设于轨道架14的上下两端。第一上同步带轮1421和第一下同步带轮1422上绕设有第一同步带143。绕设于第一上同步带轮1421和第一下同步带轮1422上的第一同步带143的外侧固定在第一固定件144上,内侧通过第一连接块145与第二升降架12相连。第一固定件144固定在平移架板19上。由此,当升降驱动机构驱动第一升降架11升降时,由于第一固定件144位置固定,使得第一上同步带轮1421和第一下同步带轮1422相对于第一固定件144移动。第一固定件144与第一上同步带轮1421的距离加上第一上同步带轮1421与第一连接块145的距离之和总是保持不变。第一上同步带轮1421相对于第一固定件144移动也必定意味着第一连接块145相对于第一上同步带轮1421移动。也就是说,当第一升降架11升降时,左右两侧的第一同步带143拖拽着第一连接块145相对于第一升降架11升降,进而拖拽着第二升降架12相对于第一升降架11升降。第二升降架12相对于第一升降架11的升降高度总是与第一升降架11相对于安装架板19的升降高度相同。这也意味着,第二升降架12相对于安装架板19的升降高度总是第一升降架11相对于安装架板19的升降高度的两倍。
第三升降架13安装在第二升降架12上,并能够相对于第二升降架12升降。第二升降架12的正面设置有竖直的第三滑轨151。第三升降架13通过第二滑块131安装在第三滑轨151上,使得第三升降架13能够顺河第三滑轨151升降。第三滑轨151由两根滑轨所组成。第二同步带机构位于第三滑轨151的两根滑轨之间,包括安装在第二升降架12上的第二上同步带轮1521和第二下同步带轮1522。第二上同步带轮1521和第二下同步带轮1522分别设于第二升降架12的上下两端。第二上同步带轮1521和第二下同步带轮1522上绕设有第二同步带153。第二同步带153跨第二升降架12设置,也就是,第二同步带153的一侧位于第二升降架12的正面,另一侧位于第二升降架12的背面。位于第二升降架12背面的一侧,第二同步带153固定在第二固定件154上。位于第二升降架12正面的一侧,通过第二连接块155连接第三升降架13。第二连接块155位于第三升降架13的背面。第二固定件154固定在第一升降架11上。由此,当第一同步带143拖拽着第二升降架12升降时,由于第二固定件154位置与第一升降架11固定,使得第二上同步带轮1521和第二下同步带轮1522相对于第二固定件154移动。第二固定件154与第二上同步带轮1521的距离加上第二上同步带轮1521与第二连接块155的距离之和总是保持不变。第二上同步带轮1521相对于第二固定件154移动也必定意味着第二连接块155相对于第二上同步带轮1521移动。也就是说,当第二升降架12升降时,第二同步带153拖拽着第二连接块155相对于第二升降架12升降,进而拖拽着第三升降架13相对于第二升降架12升降。第三升降架13相对于第二升降架12的升降高度总是与第二升降架12相对于第一升降架11的升降高度相同。这也意味着,第三升降架13相对于第一升降架11的升降高度总是第二升降架12相对于第一升降架11的升降高度的两倍,也意味着,第三升降架13相对于安装架板19的升降高度总是第一升降架11相对于安装架板19的升降高度的三倍。
